E
ToyotaEPC

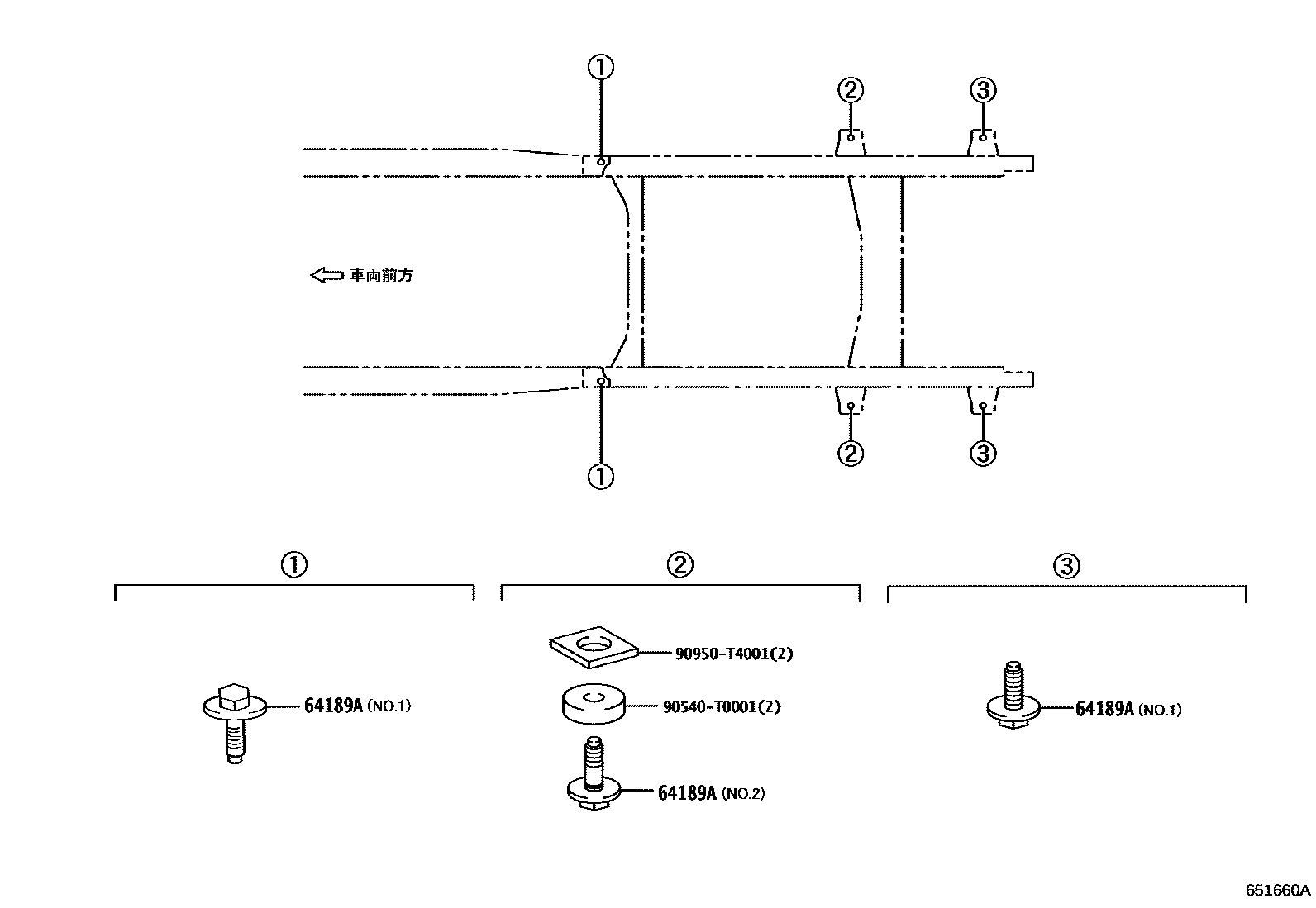
Toyota HILUXREAR BODY MOUNTING

Parts diagram
64189ABOLT, REAR BODY MOUNTING
main64189-0K010×4i202308-202407
main64189-0K020×2i202308-202407
90540T0001
90950T4001

3 parts on this diagram · 1 diagram in section

REAR BODY MOUNTING for Toyota HILUX

This section contains 3 genuine Toyota parts for the REAR BODY MOUNTING system of the Toyota HILUX. Key components include: BOLT, REAR BODY MOUNTING.