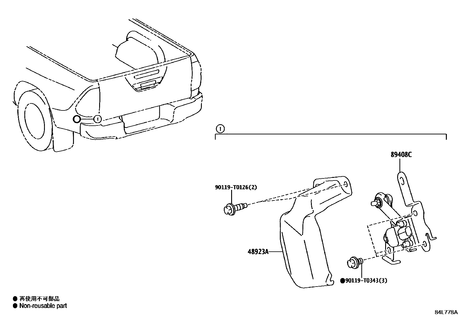
Toyota HILUX — ELECTRONIC HEIGHT CONTROL

48923ACOVER, HEIGHT CONTROL LINK
89408CSENSOR SUB-ASSY, HEIGHT CONTROL, REAR LH
90119T0126
main90119-T0126
90119T0343
main90119-T0343
4 parts on this diagram · 1 diagram in section
ELECTRONIC HEIGHT CONTROL for Toyota HILUX
This section contains 4 genuine Toyota parts for the ELECTRONIC HEIGHT CONTROL system of the Toyota HILUX. Key components include: COVER, HEIGHT CONTROL LINK, SENSOR SUB-ASSY, HEIGHT CONTROL, REAR LH.