Toyota HILUX — ECO-RUN SYSTEM

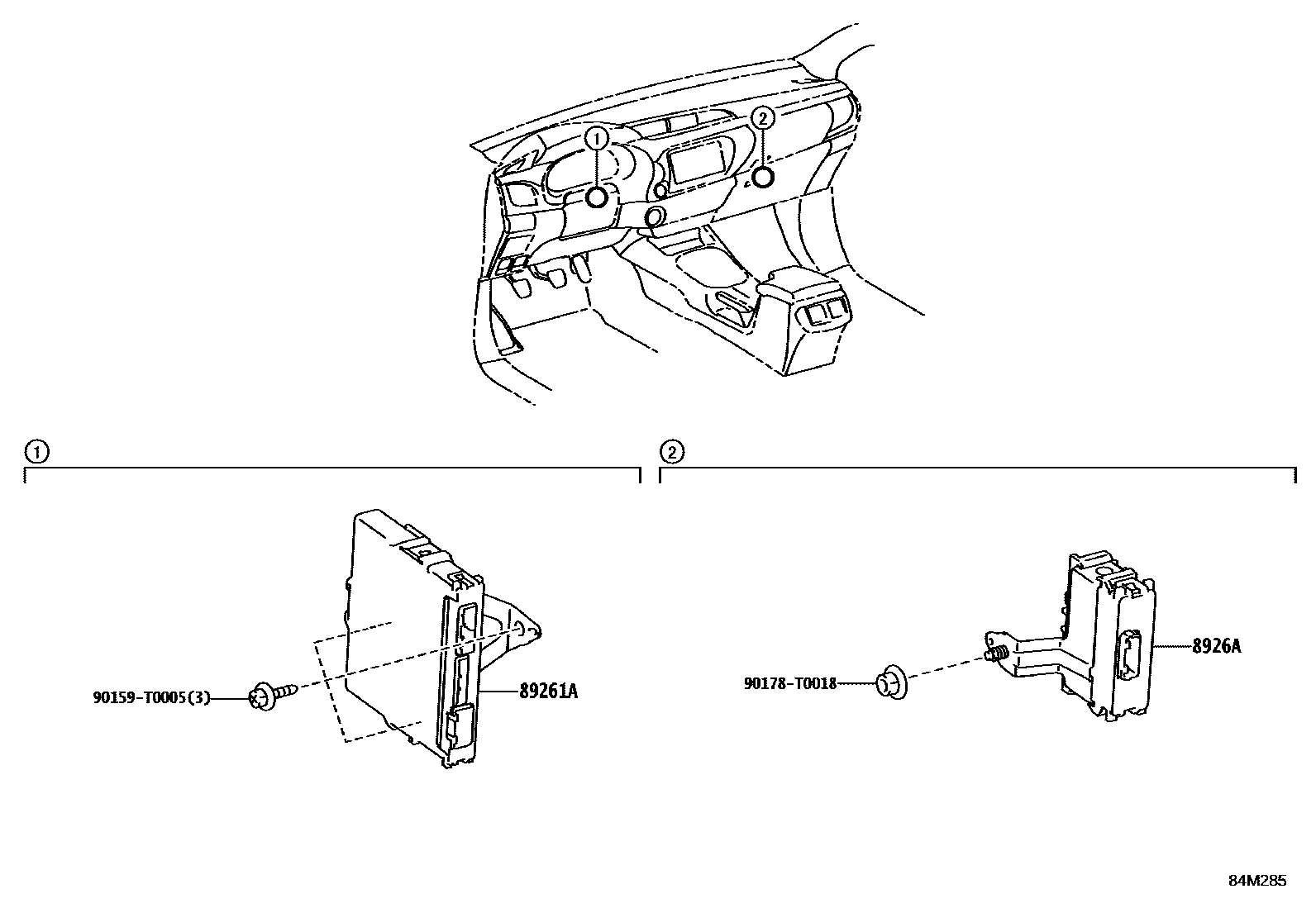
89261ACOMPUTER, ENGINE STOP AND START
8926AFILTER, ENGINE STOP & START SOLENOID
90159T0005
main90159-T0005
90178T0018
main90178-T0018
4 parts on this diagram · 2 diagrams in section
ECO-RUN SYSTEM for Toyota HILUX
This section contains 4 genuine Toyota parts for the ECO-RUN SYSTEM system of the Toyota HILUX. Key components include: COMPUTER, ENGINE STOP AND START, FILTER, ENGINE STOP & START SOLENOID.