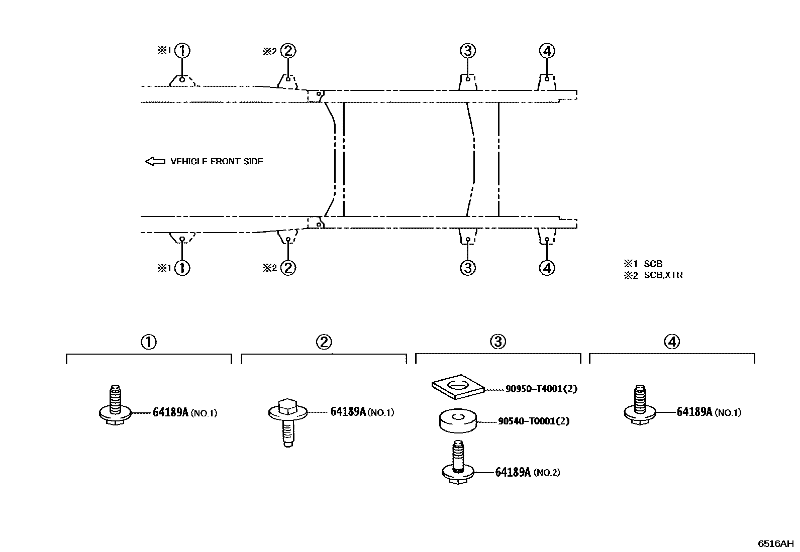
Toyota HILUX (SCB/XTR) — REAR BODY MOUNTING

64189ABOLT, REAR BODY MOUNTING
main64189-0K010×4iGUN11#,12#,13#,LAN125,TGN11#,12#,136..SCB..CBU; GUN120,122,125,126,13#..XTR..CBU202408
NO.1
NO.2
90540T0001
main90540-T0001
90950T4001
main90950-T4001
3 parts on this diagram · 1 diagram in section
REAR BODY MOUNTING for Toyota HILUX (SCB/XTR)
This section contains 3 genuine Toyota parts for the REAR BODY MOUNTING system of the Toyota HILUX (SCB/XTR). Key components include: BOLT, REAR BODY MOUNTING.