Toyota HILUX (DOUBLE CAB) — ROOF PANEL & BACK PANEL

63105DFRAME SUB-ASSY, BACK WINDOW, UPPER
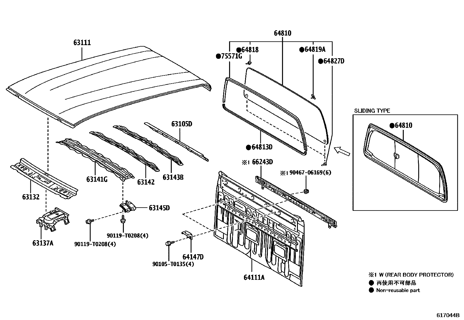
63111PANEL, ROOF
GR SPORT&AUDIO-*DA(8INCH) & *BT
63137ABRACKET, DOME LAMP, NO.1
63141GREINFORCEMENT, ROOF PANEL, NO.1
63142REINFORCEMENT, ROOF PANEL, NO.2
63143BREINFORCEMENT, ROOF PANEL, NO.3
63145DBRACKET, ROOF REINFORCEMENT
64111APANEL, BACK
main64101-KK010supersedes 64101-KK020iGUN135..RHD..L..SA;GUN122,125,TGN121..L..(KEN,SA)202109-202303
ANTI-THEFT SYSTEM-WITH(IMMOBILIZER & SIREN)
OCEANIA GENERAL SPEC&EXHAUST EMISSION CONTROL-WITHOUT&REAR HEADREST-WITH(RH/LH)
ANTI-THEFT SYSTEM-WITH(IMMOBILIZER)
SUB-SAHARAN AFRICA SPEC(EURO 2)&REAR HEADREST-WITH(RH/LH)
main64101-KK140supersedes 64101-KK110iTGN136..AGTP..L;GGN125,GUN125,126,13#,TGN126,128,138..AGTP202111-202210
CENTRAL AND SOUTH AMERICA SPEC&EXHAUST EMISSION CONTROL-EURO 2 WITHOUT(ON BOARD DIAGNOSIS)
64147DPLATE, BACK PANEL CORNER, UPPER
64810WINDOW ASSY, BACK
main64801-0K111iGUN135..L..TH;TGN126..L..GEN;GUN125..LHD..S..GEN;GUN126..RHD..6FC..S..GEN;GUN122,125..RHD..(5F,6FC)..L..GEN202108-202207
REAR WINDOW DEFOGGER-WITH
REAR WINDOW DEFOGGER-WITHOUT
REAR WINDOW DEFOGGER-WITH
sub64801-0K141
main64801-0K150iTGN136..L..SA;GUN125..L..GHA;GUN125..LHD..S..(GHA,SA);GUN126,LAN125,TGN126..LHD..(GHA,SA)202109-202303
sub64801-0K151
sub64801-0K171
sub64801-0K191
sub64801-0K211
BACK GLASS-SLIDING TYPE(GREEN,*HSEA)
BACK GLASS-SLIDING TYPE(PRIVACY)&REAR WINDOW DEFOGGER-WITHOUT
64813DDAM, BACK WINDOW GLASS ADHESIVE
64818SPACER, BACK WINDOW GLASS
64819ASPACER, BACK WINDOW GLASS, NO.2
64827DCLIP, BACK WINDOW GLASS
66243DPROTECTOR, REAR BODY, NO.1
CENTRAL AND SOUTH AMERICA SPEC
75571GMOULDING, BACK WINDOW, OUTSIDE UPPER, NO.1
90105T0135
main90105-T0135
90119T0208
main90119-T0208
9046706169
main90467-06169
20 parts on this diagram · 1 diagram in section