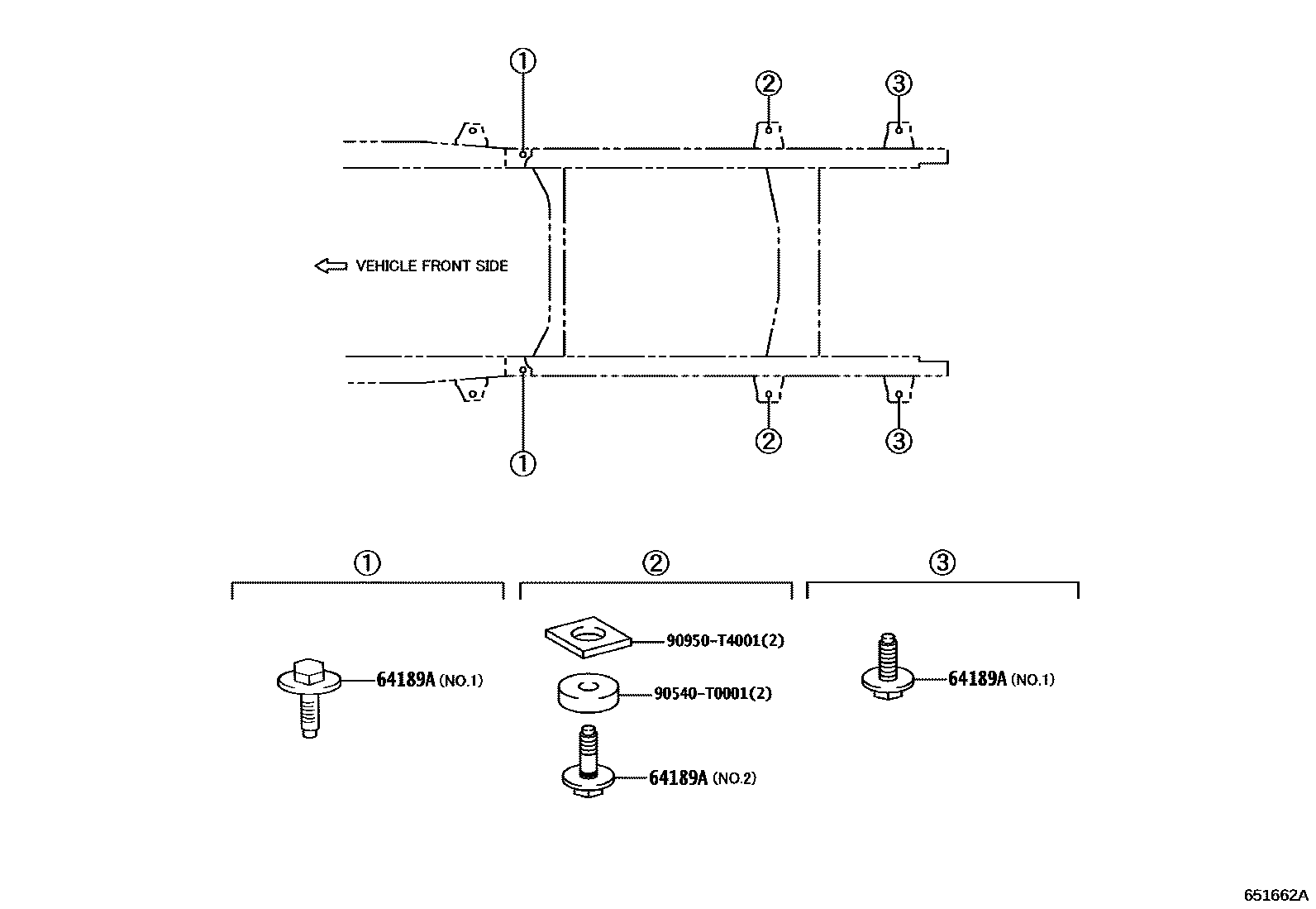
Toyota HILUX (DOUBLE CAB) — REAR BODY MOUNTING

3 parts on this diagram · 1 diagram in section
REAR BODY MOUNTING for Toyota HILUX (DOUBLE CAB)
This section contains 3 genuine Toyota parts for the REAR BODY MOUNTING system of the Toyota HILUX (DOUBLE CAB). Key components include: BOLT, REAR BODY MOUNTING.