E
ToyotaEPC

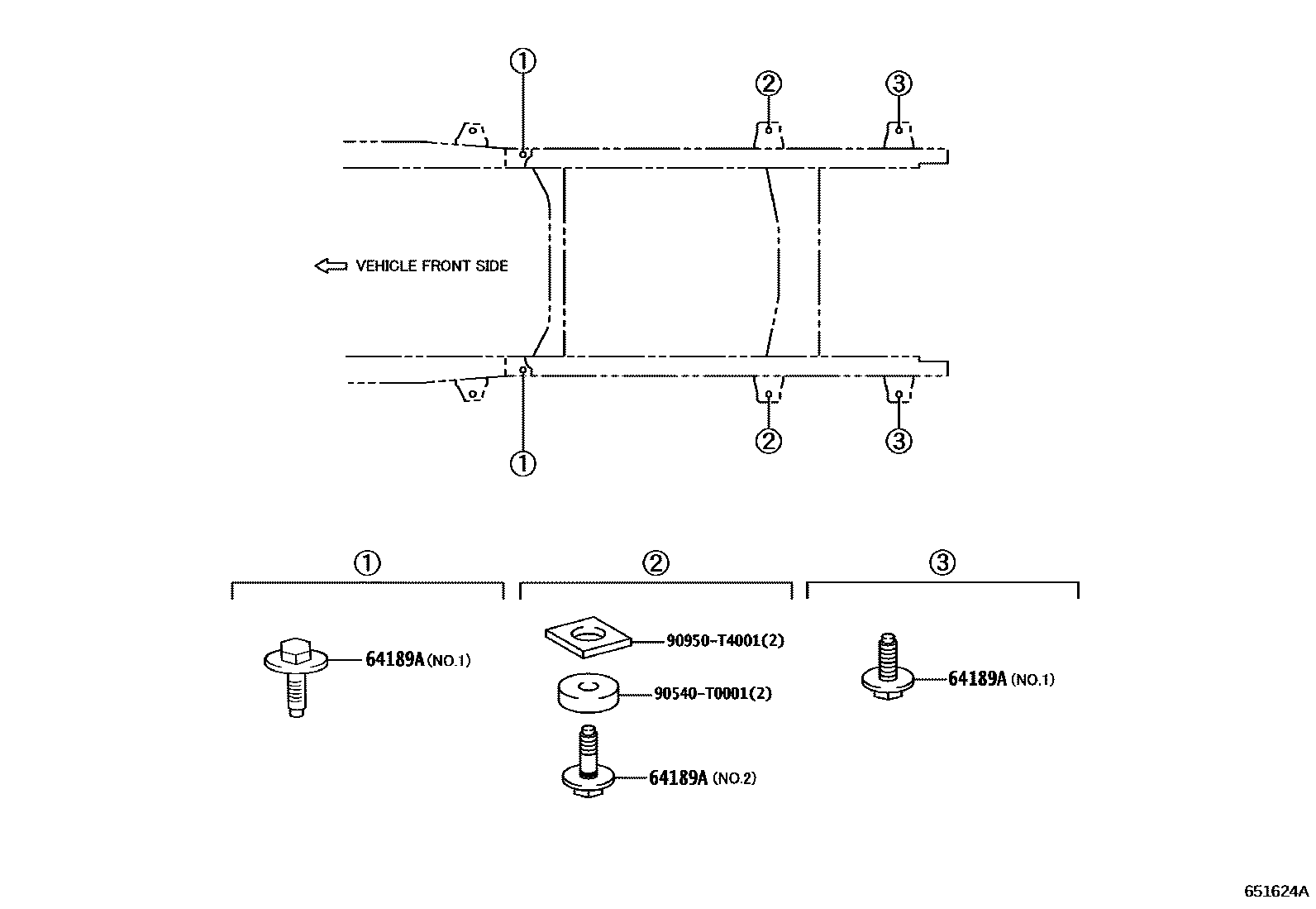
Toyota HILUX (DOUBLE CAB)REAR BODY MOUNTING

Parts diagram
64189ABOLT, REAR BODY MOUNTING
main64189-0K010×4i202208-202309
NO.1
main64189-0K020×2i202208
NO.2
90540T0001
90950T4001

3 parts on this diagram · 1 diagram in section

REAR BODY MOUNTING for Toyota HILUX (DOUBLE CAB)

This section contains 3 genuine Toyota parts for the REAR BODY MOUNTING system of the Toyota HILUX (DOUBLE CAB). Key components include: BOLT, REAR BODY MOUNTING.

Toyota HILUX (DOUBLE CAB) REAR BODY MOUNTING — Parts Diagram | ToyotaEPC