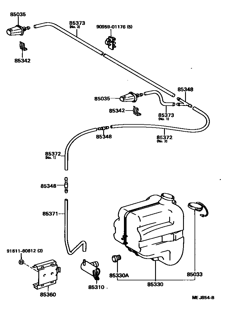
Toyota DYNA200 — WINDSHIELD WASHER

85033CAP ASSY, WINDSHIELD WASHER
85035NOZZLE SUB-ASSY, WASHER
CTR
DRIVER OR PASSENGER
85310MOTOR AND PUMP ASSY, WINDSHIELD WASHER
85330JAR ASSY, WINDSHIELD WASHER
85330ABUSH, WINDSHIELD WASHER JAR
85342HOLDER, WASHER NOZZLE
85348JOINT, WINDSHIELD WASHER HOSE, NO.1
3-WAY
2-WAY
85360BRACKET ASSY, WINDSHIELD WASHER
85371HOSE, WINDSHIELD WASHER (FROM MOTOR TO JOINT)
L=1000
85372HOSE, WINDSHIELD WASHER (FROM JOINT TO JOINT), NO.1
L=130,NO.1
L=1000(*H,L=380),NO.2
L=2000,*H,L=400,NO.3
L=1000(*H,L=420),NO.2
85373HOSE, WINDSHIELD WASHER (FROM JOINT TO NOZZLE)
L=1000,NO.1; L=1000,NO.2
9095901176
main90959-01176
9161160612
main91611-60612
13 parts on this diagram · 2 diagrams in section
WINDSHIELD WASHER for Toyota DYNA200
This section contains 13 genuine Toyota parts for the WINDSHIELD WASHER system of the Toyota DYNA200. Key components include: CAP ASSY, WINDSHIELD WASHER, NOZZLE SUB-ASSY, WASHER, MOTOR AND PUMP ASSY, WINDSHIELD WASHER, JAR ASSY, WINDSHIELD WASHER, BUSH, WINDSHIELD WASHER JAR.