E
EPC Data

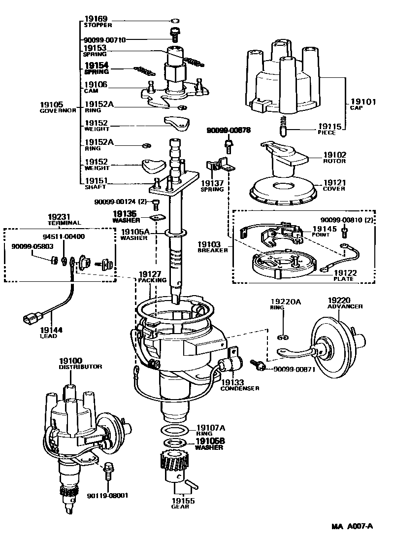
Toyota DYNA150DISTRIBUTOR

Parts diagram
19100DISTRIBUTOR ASSY
main19030-72080i199109-199505
main19030-73100i199109-199208
SINGAPORE SPEC
main19030-73110i199109-199505
CHINESE SPEC
main19030-73130i199208-199505
SINGAPORE SPEC
main19100-71010i198708-199109
main19100-73011i198708-199109
SINGAPORE SPEC
main19100-73020i198708-199109
CHINESE SPEC
19101CAP SUB-ASSY, DISTRIBUTOR
main19101-71010i199109-199505
main19101-71020i198708-199109
19102ROTOR SUB-ASSY, DISTRIBUTOR
main19102-16040i199109-199505
main19102-16060i199208-199505
SINGAPORE SPEC
main19102-33012i198708-198903
main19102-75010i198903-199109
19103BREAKER SUB-ASSY, DISTRIBUTOR
main19103-26211i198708-199109
19105GOVERNOR SUB-ASSY
main19105-71011i198708-199010
main19105-73010i198708-199010
CHINESE SPEC
19105AWASHER(FOR GOVERNOR SHAFT THRUST)
main90099-01385i198708-199010
T=2.5
main90099-01386i198708-199010
T=2.7
main90099-01387i198708-199010
T=2.9
main90099-01412i198708-199010
T=2.3
19105BWASHER, NO.2(FOR GOVERNOR SHAFT THRUST)
main90099-01429i198708-199010
19106CAM SUB-ASSY, DISTRIBUTOR
main19106-25010i198708-199010
CHINESE SPEC
main19106-71010i199010-199109
main19106-73010i199010-199109
CHINESE SPEC
main19106-88220i198708-199010
19107ARING, O, DISTRIBUTOR HOUSING
main90099-14020i198708-199010
main90099-14090i199103-199505
main90099-14106i199103-199109
SINGAPORE SPEC
main90099-14106i199010-199103
19115PIECE, DISTRIBUTOR CAP, CENTER
main19115-50010i198708-199109
main19115-63010i199109-199505
19121COVER, DUST PROOF
main19121-38030i198708-199109
main19121-63010i199109-199505
NO.1
main19121-63040i199109-199505
NO.2
19122PLATE, STATIONARY, DISTRIBUTOR
main19122-26211i198708-199109
19127PACKING, DUST PROOF
main19127-15010i198708-199109
main19127-63010i199109-199505
NO.1
main19127-63020i199109-199505
NO.2
19133CONDENSER, DISTRIBUTOR
main90099-52059i198708-199109
19135PLATE, HOLDER
main90099-02198i198708-199109
19137SPRING SUB-ASSY, DAMPER
main19137-33012i198708-199109
19144LEAD, DISTRIBUTOR BREAKER
main19144-34180i198708-198809
main19144-34190i198809-199109
main19144-72020i199109-199309
main19144-73050i199208-199505
SINGAPORE SPEC
main19144-73070i199208-199505
main19144-73070i199109-199208
SINGAPORE SPEC
main19144-73070i199109-199309
CHINESE SPEC
19145POINT, DISTRIBUTOR
main19145-26060i198708-199109
19151SHAFT, GOVERNOR
main19151-71020i198708-199010
19152WEIGHT, GOVERNOR
main19152-63010i198708-199505
SINGAPORE SPEC
main19152-63010i198711-199208
main19152-71010i198708-198711
19152ARING, SNAP(FOR GOVERNOR WEIGHT)
main90099-07122i198708-199208
main90099-07122i199208-199505
SINGAPORE SPEC
19153SPRING, GOVERNOR, A
main19153-71012i198708-199109
main19153-72060i199109-199505
main19153-73010i198708-199109
CHINESE SPEC
main19153-73050i199109-199505
CHINESE SPEC
19154SPRING, GOVERNOR, B
main19153-71012i198708-199109
main19153-72060i199109-199505
main19153-73010i198708-199109
CHINESE SPEC
main19153-73050i199109-199505
CHINESE SPEC
19155GEAR, SPIRAL, DISTRIBUTOR
main19195-71010i199109-199505
main19195-71011i198708-199109
19169STOPPER, CAM GREASE
main19169-63011i199010-199505
SINGAPORE SPEC
main19169-63011i199109-199208
main19169-63011i198708-199010
CHINESE SPEC
19220ADVANCER ASSY, VACUUM, DISTRIBUTOR
main19220-71011i198708-199010
main19220-71030i199010-199109
main19220-71040i199010-199109
CHINESE SPEC
main19220-72070i199109-199505
main19220-73011i198708-199010
SINGAPORE SPEC
main19220-73040i199010-199109
SINGAPORE SPEC
main19220-73130i199208-199505
SINGAPORE SPEC
main19220-73150i199109-199208
SINGAPORE SPEC
19220ARING, SNAP(FOR DISTRIBUTOR VACUUM ADVANCER)
main90099-07109i198708-199109
19231TERMINAL, DISTRIBUTOR
main19231-24140i198708-199109
9009900124
9009900710
9009900810
9009900871
9009900878
9009905803
9011908001
9451100400

36 parts on this diagram · 4 diagrams in section

DISTRIBUTOR for Toyota DYNA150

This section contains 54 genuine Toyota parts for the DISTRIBUTOR system of the Toyota DYNA150. Key components include: IGNITION COIL & SPARK PLUG / GLOW PLUG, DISTRIBUTOR ASSY, TAPE, SEALING, CAP SUB-ASSY, DISTRIBUTOR, ROTOR SUB-ASSY, DISTRIBUTOR.

Toyota DYNA150 DISTRIBUTOR — Parts Diagram | EPC Data