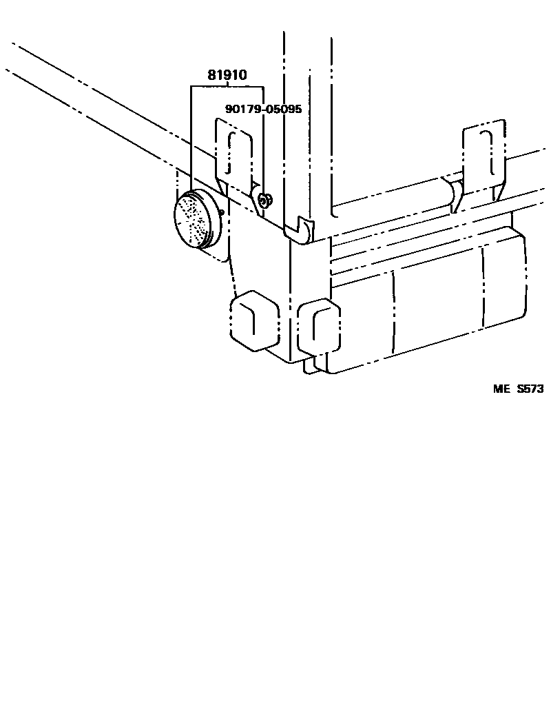
Toyota DYNA150 — REFLEX REFLECTOR

81910REFLECTOR ASSY, REFLEX, RH
9017905095
main90179-05095
2 parts on this diagram · 1 diagram in section
REFLEX REFLECTOR for Toyota DYNA150
This section contains 2 genuine Toyota parts for the REFLEX REFLECTOR system of the Toyota DYNA150. Key components include: REFLECTOR ASSY, REFLEX, RH.