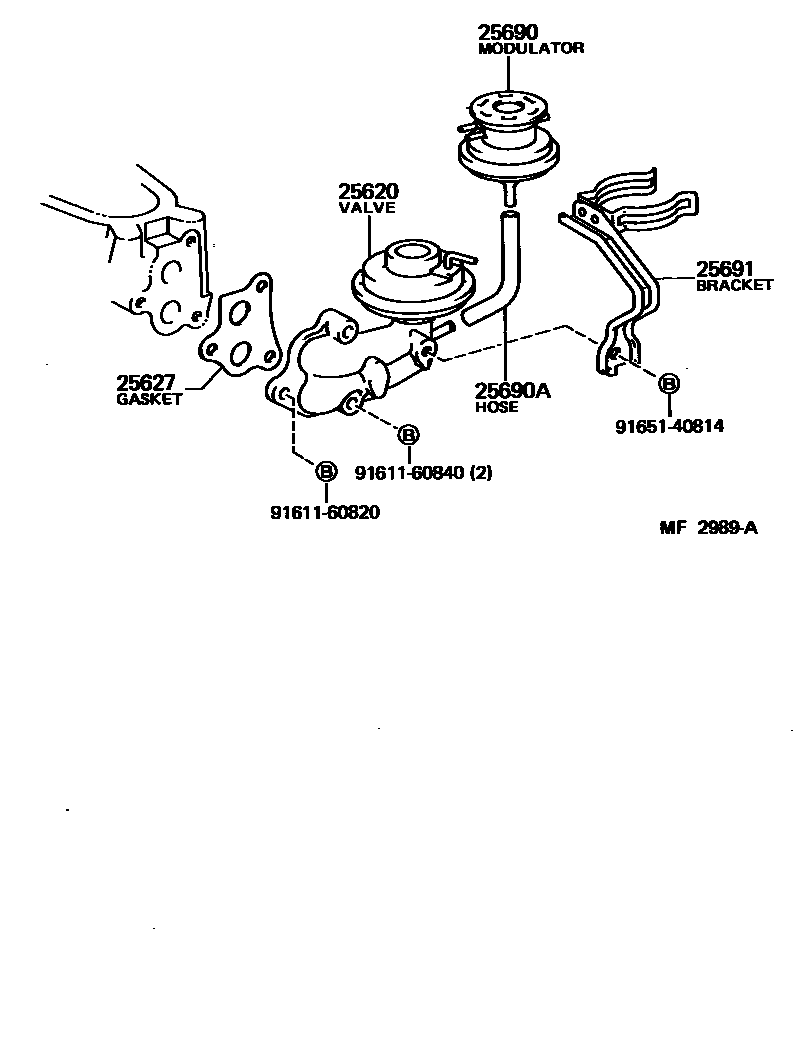
Toyota DYNA100 — EXHAUST GAS RECIRCULATION SYSTEM

25620VALVE ASSY, EGR
25627GASKET, EGR VALVE
25690MODULATOR ASSY, EGR VACUUM
25690AHOSE(FOR EGR VACUUM MODULATOR)
sub90445-11130
25691BRACKET, EGR VACUUM MODULATOR
9161160820
main91611-60820
9161160840
main91611-60840
9165140814
main91651-40814
8 parts on this diagram · 1 diagram in section