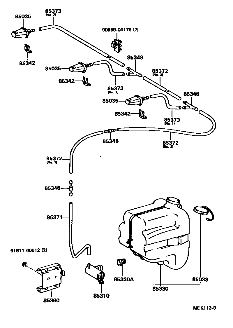
Toyota DYNA — WINDSHIELD WASHER

85033CAP ASSY, WINDSHIELD WASHER
85035NOZZLE SUB-ASSY, WASHER
RH OR LH
85310MOTOR AND PUMP ASSY, WINDSHIELD WASHER
85330JAR ASSY, WINDSHIELD WASHER
85330ABUSH, WINDSHIELD WASHER JAR
85342HOLDER, WASHER NOZZLE
85348JOINT, WINDSHIELD WASHER HOSE, NO.1
3-WAY
2-WAY
85360BRACKET ASSY, WINDSHIELD WASHER
sub85361-95A02
85371HOSE, WINDSHIELD WASHER (FROM MOTOR TO JOINT)
L=1000
85372HOSE, WINDSHIELD WASHER (FROM JOINT TO JOINT), NO.1
L=1000(*H,L=380),NO.2
L=2000,*H,L=400,NO.3
85373HOSE, WINDSHIELD WASHER (FROM JOINT TO NOZZLE)
L=1450(*H,L=100),NO.1
9095901176
main90959-01176
9161160612
main91611-60612
13 parts on this diagram · 1 diagram in section