E
EPC Data

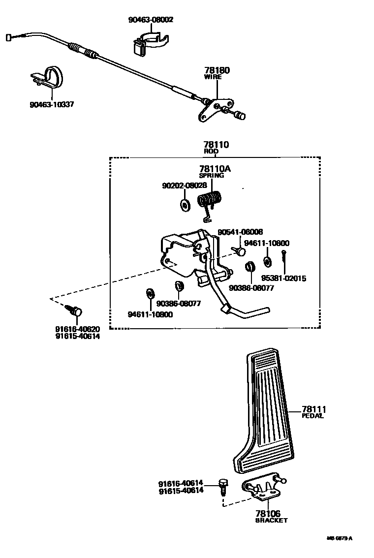
Toyota CROWNACCELERATOR LINK

Parts diagram
78106BRACKET SUB-ASSY, ACCELERATOR PEDAL SUPPORT
main78011-30040i197410-197908
78110ROD ASSY, ACCELERATOR PEDAL
main78120-30120i197410-197611
main78120-30140i197410-197908
main78120-30150i197410-197908
main78120-30160i197410-197908
main78120-30180i197611-197908
78110ASPRING (FOR ACCELERATOR PEDAL ROD)
main90508-16009i197611-197908
main90508-23005i197410-197908
main90508-23444i197410-197611
main90508-23445i197410-197908
78111PEDAL, ACCELERATOR
main78101-30051i197410-197611
FOR ARCTIC COUNTRY
main78111-30060i197410-197908
main78111-30070i197410-197908
78180WIRE ASSY, ACCELERATOR
main78180-30010i197410-197903
main78180-30011i197903-197908
9020208028
9038608077
9046308002
9046310337
9054106008
9161540614
9161640614
9161640620
9461110800
9538102015

15 parts on this diagram · 4 diagrams in section