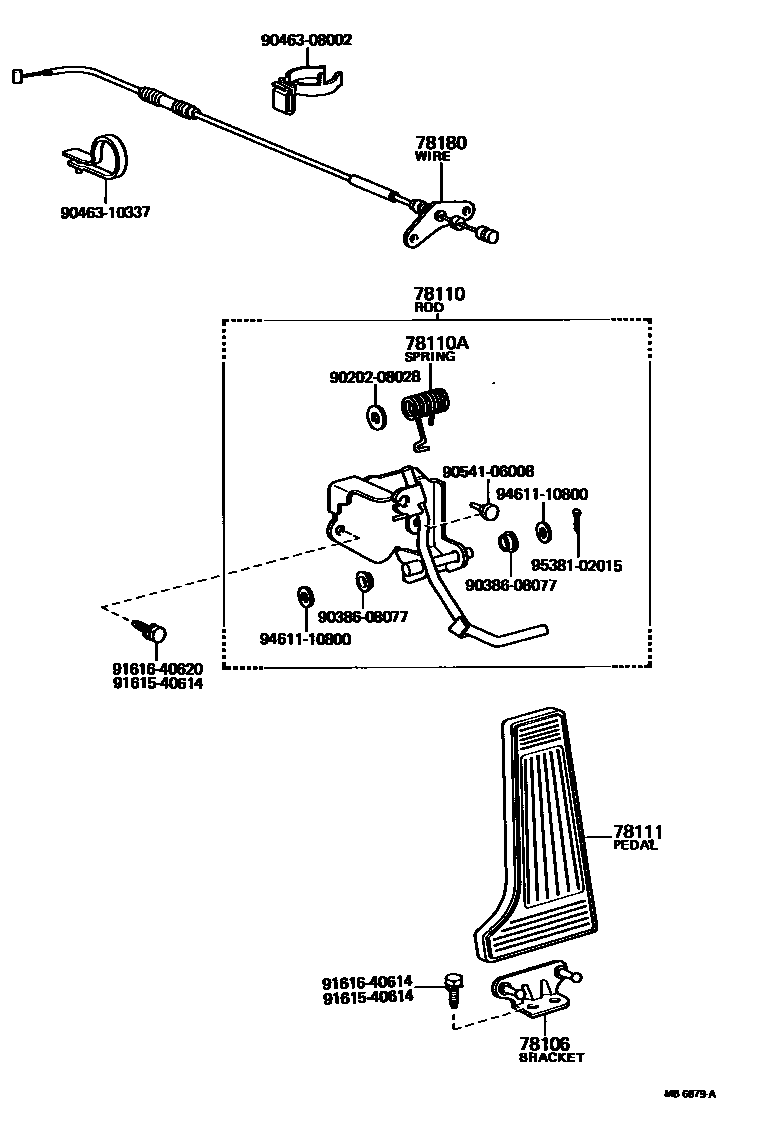
Toyota CROWN — ACCELERATOR LINK

78106BRACKET SUB-ASSY, ACCELERATOR PEDAL SUPPORT
78110ASPRING (FOR ACCELERATOR PEDAL ROD)
78111PEDAL, ACCELERATOR
FOR ARCTIC COUNTRY
78180WIRE ASSY, ACCELERATOR
9020208028
main90202-08028
9038608077
main90386-08077
9046308002
main90463-08002
9046310337
main90463-10337
9054106008
main90541-06008
9161540614
main91615-40614
9161640614
main91616-40614
9161640620
main91616-40620
9461110800
main94611-10800
9538102015
main95381-02015
15 parts on this diagram · 4 diagrams in section