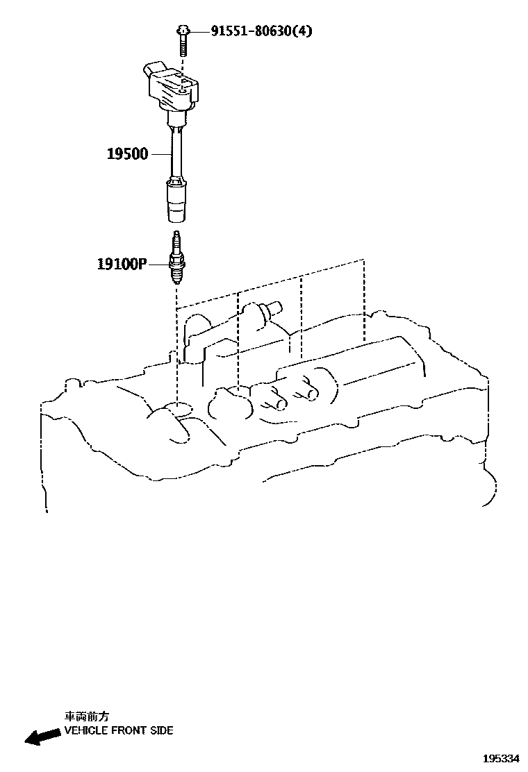
Toyota CROWN/HYBRID — IGNITION COIL & SPARK PLUG / GLOW PLUG

3 parts on this diagram · 3 diagrams in section
IGNITION COIL & SPARK PLUG / GLOW PLUG for Toyota CROWN/HYBRID
This section contains 5 genuine Toyota parts for the IGNITION COIL & SPARK PLUG / GLOW PLUG system of the Toyota CROWN/HYBRID. Key components include: PLUG, SPARK, COIL ASSY, IGNITION.