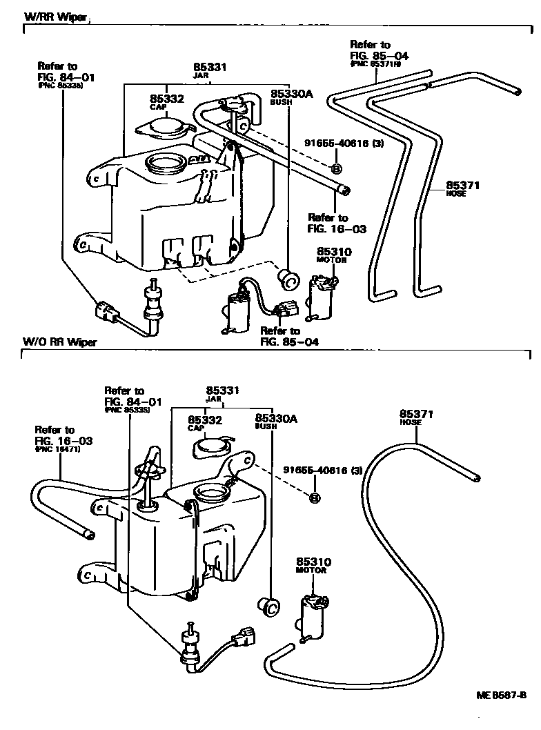
Toyota CORSA/TERCEL — WINDSHIELD WASHER

1603RADIATOR & WATER OUTLET
8401SWITCH & RELAY & COMPUTER
8504REAR WASHER
85310MOTOR AND PUMP ASSY, WINDSHIELD WASHER
85330ABUSH, WINDSHIELD WASHER JAR
85331JAR SUB-ASSY, WINDSHIELD WASHER
W/RR WIPER
1.5 LITTER
W/RR WIPER
2.3 LITTER
2.3 LITTER
2.3 LITTER
85332CAP, WINDSHIELD WASHER JAR
W/RR WIPER
85371HOSE, WINDSHIELD WASHER (FROM MOTOR TO JOINT)
9165540616
main91655-40616
9 parts on this diagram · 3 diagrams in section
WINDSHIELD WASHER for Toyota CORSA/TERCEL
This section contains 15 genuine Toyota parts for the WINDSHIELD WASHER system of the Toyota CORSA/TERCEL. Key components include: RADIATOR & WATER OUTLET, SWITCH & RELAY & COMPUTER, REAR WASHER, MOTOR AND PUMP ASSY, WINDSHIELD WASHER, BUSH, WINDSHIELD WASHER JAR.