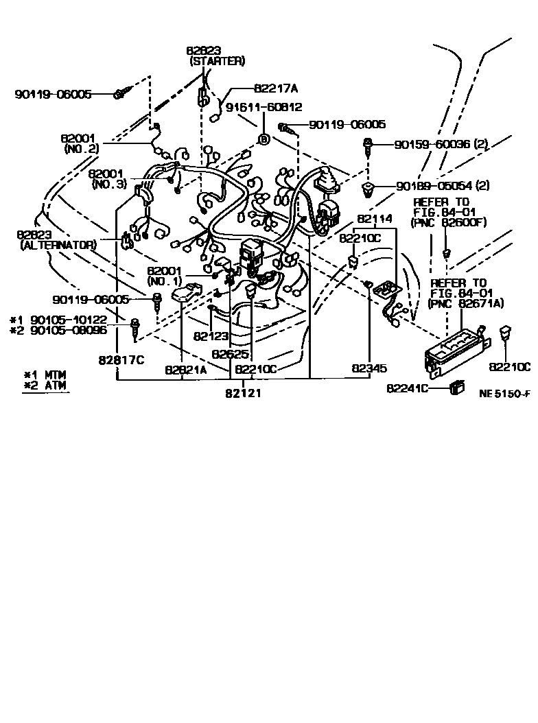
Toyota CORONA — WIRING & CLAMP

82001CABLE, BOND, NO.1
82114WIRE, ENGINE ROOM, NO.4
82121WIRE, ENGINE
sub82121-2B681
sub82121-2B701
sub82121-2B711
sub82121-2B791
sub82121-2D262
sub82121-2D281
sub82121-2G071
sub82121-2G091
sub82121-2G812
sub82121-2G822
sub82121-2G832
82123WIRE, ENGINE, NO.3
82210CFUSIBLE LINK
82217AWIRE, FRONT WINDOW DEFOGGER
82241CWIRE, RELAY
82625TERMINAL, FUSIBLE LINK
82817PROTECTOR, WIRING HARNESS, NO.1
NO.2
82817CPROTECTOR, WIRING HARNESS, NO.4
82821ACOVER, CONNECTOR
82823CAP, TERMINAL, NO.1
STARTER
ALTERNATOR
8401
9010508096
main90105-08096
9010510122
main90105-10122
9011906005
main90119-06005
9015960036
main90159-60036
9018905054
main90189-05054
9161160812
main91611-60812
20 parts on this diagram · 16 diagrams in section