E
EPC Data

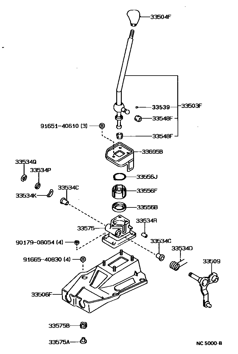
Toyota CORONASHIFT LEVER & RETAINER

Parts diagram
33503FLEVER SUB-ASSY, SHIFT(FOR FLOOR SHIFT)
main33055-20040i198808-198911
main33055-20130i198911-199202
main33503-20390i198712-198911
main33503-20450i198712-199211
main33503-20480i198911-199211
33504FKNOB SUB-ASSY, SHIFT LEVER
main33504-14040-33i198712-199211
GRAY,TRIM1#
main33504-14040-34i198712-198911
DARK BLUE,TRIM8#
main33504-14040-36i198712-199211
SABLE,TRIM4#
main33504-14040-64i198911-199202
DARK BLUE,TRIM8#
main33504-14050-B0i198712-199211
SHADOW GRAY,TRIM1#
main33504-20080-03i198812
main33504-20080-03i198911-199202
main33504-20080-03i198712-199202
GRAY,TRIM1#
main33504-20080-04i198712-198911
BLUE,TRIM8#
main33504-20080-04i198812
main33504-20080-06i198812
main33504-20080-06i198712-199202
SABLE,TRIM4#
main33504-20080-06i198911-199202
main33504-20080-14i198911-199202
main33504-20080-14i198911-199202
DARK BLUE,TRIM8#
main33504-20090-03i198712-199211
GRAY,TRIM1#
main33504-20090-04i198712-198911
BLUE,TRIM8#
main33504-20090-06i198712-199211
SABLE,TRIM4#
main33504-20090-14i198911-199202
DARK BLUE,TRIM8#
main33504-20100-03i198911-199211
main33504-20100-03i198712-199202
GRAY,TRIM1#
main33504-20100-04i198712-198911
BLUE,TRIM8#
main33504-20100-06i198712-199202
SABLE,TRIM4#
main33504-20100-06i198911-199211
main33504-20100-14i198911-199202
DARK BLUE,TRIM8#
main33542-20080-03i198712-199211
GRAY,TRIM1#
main33542-20080-04i198712-198911
BLUE,TRIM8#
main33542-20080-06i198712-199211
SABLE,TRIM4#
main33542-20080-34i198911-199202
DARK BLUE,TRIM8#
33506FRETAINER SUB-ASSY, CONTROL SHIFT LEVER (FOR FLOOR SHIFT)
main33506-20220i198712-199211
33509CRANK SUB-ASSY, SELECTING BELL, NO.1
main33509-12060i198712-198908
main33509-12080i198908-199211
33534CBUSH (FOR SELECTING BELLCRANK NO.1)
main90386-12034i198712-199211
33534DSPRING, TORSION (FOR SELECTING BELLCRANK NO.1)
main90508-20084i198712-199211
33534KWASHER, WAVE (FOR SELECTING BELLCRANK NO.1)
main90206-12003i198712-199211
33534PWASHER, PLATE (FOR SELECTING BELLCRANK NO.1)
main90201-12052i198712-199211
33534QRING, E (FOR SELECTING BELLCRANK NO.1)
main96160-00900i198712-199211
33534RCUSHION (FOR SELECTING BELLCRANK NO.1)
main90540-06029i198712-199211
33539CUSHION, SHIFT LEVER ANTI-RATTLE
main33539-12010i198911-199211
33548FBUSH, NO.1, SHIFT LEVER (FOR FLOOR SHIFT)
main33548-12021i198712-198911
main33548-12040i198911-199211
33556BBUSH (FOR TRANSMISSION SHIFT LEVER BALL SEAT)
main90385-34001i198712-199211
33556FSEAT, TRANSMISSION SHIFT LEVER BALL
main33556-20020i198712-199211
33556JRING, SHAFT SNAP (FOR TRANSMISSION SHIFT LEVER SEAT)
main90520-34002i198712-199211
33575RETAINER, CONTROL SHIFT LEVER (FOR FLOOR SHIFT)
main33575-16040i198712-198908
main33575-20390i198908-199211
33575ABUSH, NO.1 (FOR CONTROL SHIFT LEVER RETAINER)
main90389-08031i198712-199211
33575BBUSH, NO.2 (FOR CONTROL SHIFT LEVER RETAINER)
main90389-10020i198712-199211
33695BCOVER, SELECTING SPRING (FOR FLOOR SHIFT)
main33695-20010i198712-199211
9017908054
9165140610
9166540830

22 parts on this diagram · 9 diagrams in section