Toyota CORONA — FUEL INJECTION SYSTEM

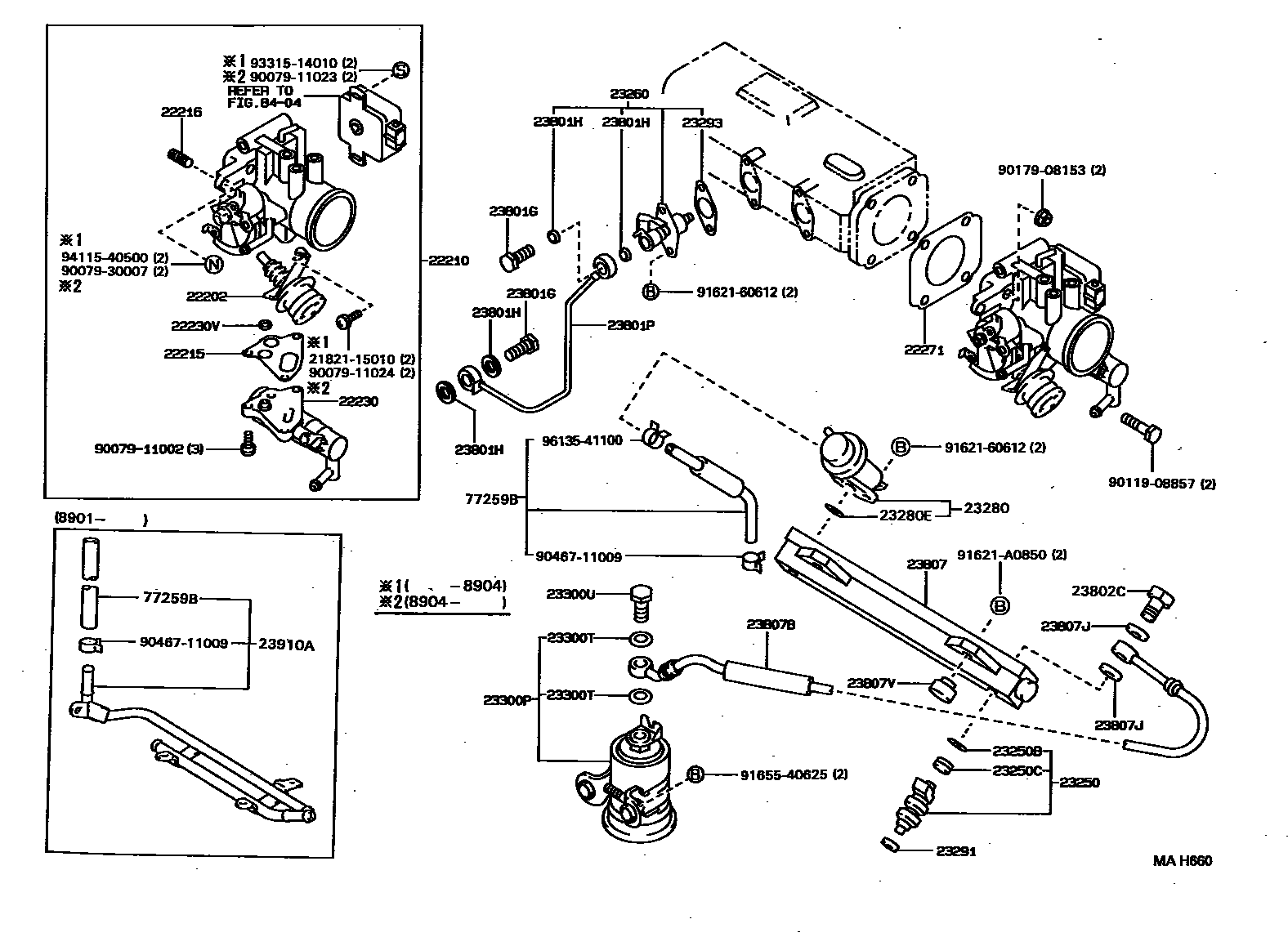
22202DASH POT SUB-ASSY
22210BODY ASSY, THROTTLE
sub22200-74013
sub22200-74014
sub22200-74015
sub22200-74023
sub22200-74024
sub22200-74025
sub22210-74341
sub22210-74730
sub22210-74680
sub22210-74501
22216SCREW, DASH POT ADJUSTING
22230VALVE ASSY, AUXILIARY AIR
22230VRING, O(FOR AUXILIARY AIR VALVE)
23250INJECTOR ASSY, FUEL
23250BRING, O(FOR FUEL INJECTOR)
23250CGROMMET(FOR FUEL INJECTOR)
23280ERING, O(FOR FUEL PRESSURE REGULATOR)
23291INSULATOR, INJECTOR VIBRATION
23300TGASKET(FOR FUEL FILTER)
23300UBOLT, UNION(FOR FUEL FILTER)
23801HGASKET(FOR FUEL PIPE)
*54
23802CBOLT, UNION(FOR FUEL PIPE NO.2)
23807BHOSE, FUEL DELIVERY PIPE
*54
*53
23807JGASKET, PIPE FUEL DELIVARY INLET
23807VSPACER, NO.1(FOR DELIVERY PIPE)
8404
2182115010SCREW, 2ND THROTTLE VALVE SET
main21821-15010
9007911002
main90079-11002
9007911023
main90079-11023
9007911024
main90079-11024
9007930007
main90079-30007
9011908857
main90119-08857
9017908153
main90179-08153
9046711009
main90467-11009
9162160612
main91621-60612
91621A0850
main91621-A0850
9165540625
main91655-40625
9331514010
main93315-14010
9411540500
main94115-40500
9613541100
main96135-41100
43 parts on this diagram · 9 diagrams in section