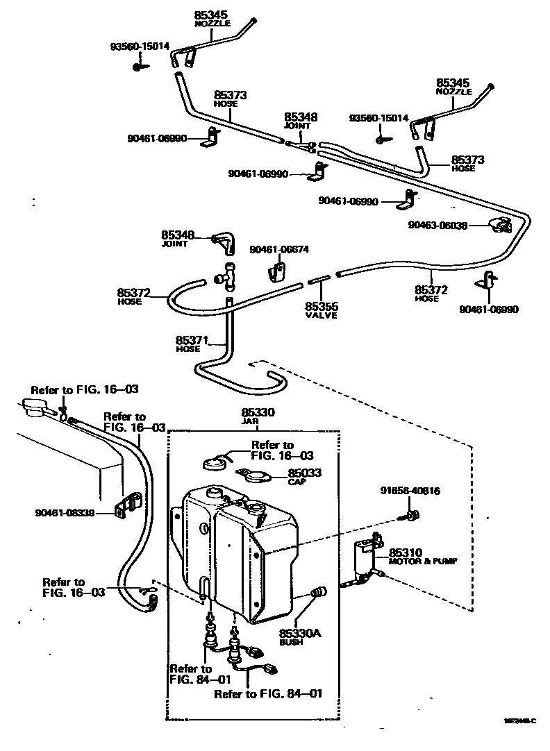
Toyota CORONA — WINDSHIELD WASHER

1603RADIATOR & WATER OUTLET
8401SWITCH & RELAY & COMPUTER
85033CAP ASSY, WINDSHIELD WASHER
FOR HEADLAMP CLEARNER
85310MOTOR AND PUMP ASSY, WINDSHIELD WASHER
85330JAR ASSY, WINDSHIELD WASHER
FOR HEADLAMP CLEARNER
FOR HEADLAMP CLEARNER
85330ABUSH, WINDSHIELD WASHER JAR
85345NOZZLE, WINDSHIELD WASHER
RH
RH
LH
LH
85348JOINT, WINDSHIELD WASHER HOSE, NO.1
WASHER TANK SIDE
WASHER TANK SIDE
85355VALVE, WINDSHIELD WASHER HOSE
85371HOSE, WINDSHIELD WASHER (FROM MOTOR TO JOINT)
L=1000(*H,L=450)
L=1000(*H,L=400)
FOR HEADLAMP CLEARNER
85372HOSE, WINDSHIELD WASHER (FROM JOINT TO JOINT), NO.1
L=320
L=1300
L=1200
L=2000(*H,L=1400)
FOR HEADLAMP CLEARNER
85373HOSE, WINDSHIELD WASHER (FROM JOINT TO NOZZLE)
L=1000(*H,L=80)
L=1800(*H,L=80)
L=120
L=1000(*H,L=315)
L=1000(*H,L=580)
L=1800(*H,L=100)
9046106674
main90461-06674
9046106990
main90461-06990
9046108339
main90461-08339
9046306038
main90463-06038
9165640816
main91656-40816
9356015014
main93560-15014
18 parts on this diagram · 2 diagrams in section
WINDSHIELD WASHER for Toyota CORONA
This section contains 21 genuine Toyota parts for the WINDSHIELD WASHER system of the Toyota CORONA. Key components include: RADIATOR & WATER OUTLET, SWITCH & RELAY & COMPUTER, CAP ASSY, WINDSHIELD WASHER, MOTOR AND PUMP ASSY, WINDSHIELD WASHER, JAR ASSY, WINDSHIELD WASHER.