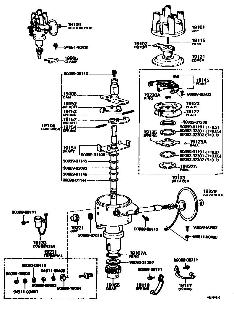
Toyota COROLLA — DISTRIBUTOR

19100DISTRIBUTOR ASSY
CANADA SPAC.
FOR CANADA
CANADA SPEC.
CALIFORNIA SPEC.
CALIFORNIA SPEC.
CALIFORNIA SPEC.
2 POINT DIS.
DOUBLE ADVANCE DIS.
DOUBLE ADVANCE DIS.
FOR CANADA DOUBLE ADVANCE DIS.
CALIFORNIA SPEC.
CALIFORNIA SPEC.
HIGH ALTITUDE SPEC.
HIGH ALTITUDE SPEC.
CANADA SPAC.
FOR CANADA,DOUBLE ADVANCE DIS.
DOUBLE ADVANCE DIS.
DOUBLE ADVANCE DIS.
19101CAP SUB-ASSY, DISTRIBUTOR
19103BREAKER SUB-ASSY, DISTRIBUTOR
2 POINT DIS.
19105GOVERNOR SUB-ASSY
CANADA SPEC.
CALIFORNIA SPEC.
CALIFORNIA SPEC.
2 POINT DIS.
DOUBLE ADVANCE DIS.
CALIFORNIA SPEC.
CALIFORNIA SPEC.
DOUBLE ADVANCE DIS.
HIGH ALTITUDE SPEC.
CANADA SPEC.
HIGH ALTITUDE SPEC.
19106CAM SUB-ASSY, DISTRIBUTOR
2 POINT DIS.
DOUBLE ADVANCE DIS.
19107ARING, O, DISTRIBUTOR HOUSING
sub90099-14090
19115PIECE, DISTRIBUTOR CAP, CENTER
19117SPRING, DISTRIBUTOR CAP, A
19118SPRING, DISTRIBUTOR CAP, B
19121COVER, DUST PROOF
CANADA SPEC.
19122PLATE, STATIONARY, DISTRIBUTOR
2 POINT DIS.
19122ARING, SNAP(FOR DISTRIBUTOR STATIONARY PLATE)
19123PLATE, DISTRIBUTOR BREAKER
19125SPRING(FOR DISTRIBUTOR STATIONARY PLATE)
19125ABALL, DISTRIBUTOR STATIONARY PLATE
19133CONDENSER, DISTRIBUTOR
19145POINT, DISTRIBUTOR
2 POINT DIS.
19151SHAFT, GOVERNOR
19153SPRING, GOVERNOR, A
CANADA SPEC.
CALIFORNIA SPEC.
CALIFORNIA SPEC.
2 POINT DIS.
DOUBLE ADVANCE DIS.
CAL.& H.A.
CALIFORNIA SPEC.
19154SPRING, GOVERNOR, B
CANADA SPEC.
CALIFORNIA SPEC.
CANADA SPEC.
CALIFORNIA SPEC.
2 POINT DIS.
DOUBLE ADVANCE DIS.
CAL.& H.A.
DOUBLE ADVANCE DIS.
DOUBLE ADVANCE DIS.
19155GEAR, SPIRAL, DISTRIBUTOR
19220ADVANCER ASSY, VACUUM, DISTRIBUTOR
CANADA SPEC.
CALIFORNIA SPEC.
FOR CANADA DOUBLE ADVANCE DIS.
CALIFORNIA SPEC.
CALIFORNIA SPEC.
DOUBLE ADVANCE DIS.
HIGH ALTITUDE SPEC.
CANADA SPEC.
HIGH ALTITUDE SPEC.
19220ARING, SNAP(FOR DISTRIBUTOR VACUUM ADVANCER)
19905CLAMP SUB-ASSY, DISTRIBUTOR
9009050492
main90090-50492
9009300413
main90093-00413
9009331202
main90093-31202
9009332301
main90093-32301
9009332302
main90093-32302
9009900710
main90099-00710
9009900711
main90099-00711
9009900712
main90099-00712
9009900803
main90099-00803
9009901100
main90099-01100
9009901144
main90099-01144
9009901145
main90099-01145
9009901191
main90099-01191
9009901238
main90099-01238
9009902019
main90099-02019
9009902092
main90099-02092
9009905803
main90099-05803
9009919084
main90099-19084
9165140830
main91651-40830
9451100400
main94511-00400
48 parts on this diagram · 9 diagrams in section