Toyota COROLLA — WINDSHIELD WASHER

1603
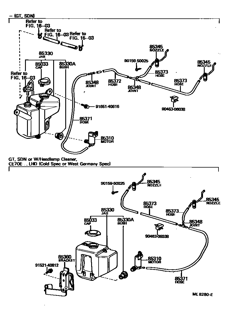
85330JAR ASSY, WINDSHIELD WASHER
main85330-12090iKE70,TE72..RHD;TE71..DX,SE,SR,STD,XE;KE70..(CP,DV,LB)..LHD;KE70..(SED,WG)..LHD..EUG;KE70..(SED,WG)..LHD..GEN197908-198002
sub85330-12091
sub85330-12091
COLDSPEC OR W/HEADLAMP CLEANER
W/HEADLAMP CLEANER
COLD SPEC OR *FRG
85330ABUSH, WINDSHIELD WASHER JAR
85345NOZZLE, WINDSHIELD WASHER
LH
RH
RH
LH
85348JOINT, WINDSHIELD WASHER HOSE, NO.1
sub85375-89141
main85355-14010iKE70..RHD;TE72..GL,SE,XE;KE70..SED..LHD..4F..DX..EUG;KE70..(DV,SED)..LHD..(GL,STD);KE70..(CP,LB,WG)..LHD..(GEN,SAA);KE70..SED..LHD..(2FC,3FC,5F)..DX;KE70..(CP,LB,WG197908-198707
3WAY TYPE
sub85348-12250
main85355-87201iKE70..RHD;TE72..GL,SE,XE;KE70..SED..LHD..4F..DX..EUG;KE70..(DV,SED)..LHD..(GL,STD);KE70..(CP,LB,WG)..LHD..(GEN,SAA);KE70..SED..LHD..(2FC,3FC,5F)..DX;KE70..(CP,LB,WG197908-198707
2WAY TYPE
sub85349-89122
85360BRACKET ASSY, WINDSHIELD WASHER
85371HOSE, WINDSHIELD WASHER (FROM MOTOR TO JOINT)
L=1450(*H,L=710),W/HEADLAMP CLEANER
L=1450(*H,L=710)
L=1450(*H,L=280)
L=1450(*H,L=710),COLD SPEC OR *FRG
main90446-06341iKE70,TE72..RHD;TE71..DX,SE,SR,STD,XE;KE70..(CP,DV,LB)..LHD;KE70..(SED,WG)..LHD..EUG;KE70..(SED,WG)..LHD..GEN197908-197912
L=1000(*H,L=280)
sub90446-06013
85372HOSE, WINDSHIELD WASHER (FROM JOINT TO JOINT), NO.1
main90446-06006iKE70..RHD;TE72..GL,SE,XE;KE70..SED..LHD..4F..DX..EUG;KE70..(DV,SED)..LHD..(GL,STD);CE70,TE71..DX,GL,SE,SR,STD,XE;KE70..(CP,LB,WG)..LHD..(GEN,SAA);KE70..SED..LHD..(2197912-198305
L=2000,*H,L=1200
L=2000,*H,L=1300
main90446-06014iKE70,TE72..RHD;TE71..DX,SE,SR,STD,XE;KE70..(CP,DV,LB)..LHD;KE70..(SED,WG)..LHD..EUG;KE70..(SED,WG)..LHD..GEN197908-197912
L=1200
85373HOSE, WINDSHIELD WASHER (FROM JOINT TO NOZZLE)
L=1100(*H,L=50),W/HEADLAMP CLEANER
L=1100(*H,L=50),COLD SPEC
L=1100(*H,L=50),*WEG
L=1800(*H,L=700)
L=1450(*H,L=60)
L=1100(*H,L=50),*H,L=50
9015950025
main90159-50025
9046306038
main90463-06038
9152140812
main91521-40812
9165140616
main91651-40616
15 parts on this diagram · 1 diagram in section