Toyota COROLLA — EXHAUST GAS RECIRCULATION SYSTEM

1701
1708
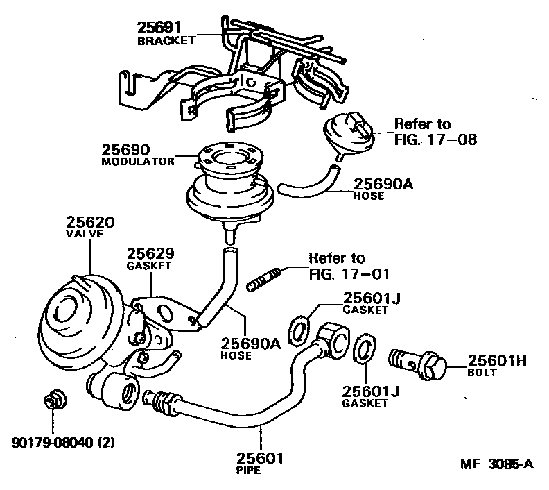
25601PIPE SUB-ASSY, EGR, NO.1
25601HBOLT, UNION(FOR EGR PIPE,NO.1)
25601JGASKET(FOR EGR PIPE, NO.1)
25629GASKET, EGR VALVE ADAPTER
25690MODULATOR ASSY, EGR VACUUM
25690AHOSE(FOR EGR VACUUM MODULATOR)
25691BRACKET, EGR VACUUM MODULATOR
9017908040
main90179-08040
11 parts on this diagram · 4 diagrams in section