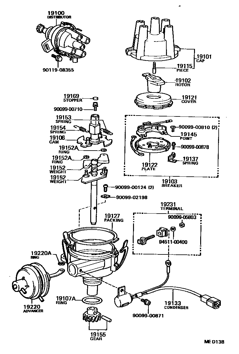
Toyota COROLLA — DISTRIBUTOR

19102ROTOR SUB-ASSY, DISTRIBUTOR
sub19102-26151
sub19102-22012
sub19102-24121
sub19102-24121
sub19102-26151
HONG KONG SPEC
19103BREAKER SUB-ASSY, DISTRIBUTOR
19115PIECE, DISTRIBUTOR CAP, CENTER
19121COVER, DUST PROOF
HONG KONG SPEC
19122PLATE, STATIONARY, DISTRIBUTOR
HONG KONG SPEC
19127PACKING, DUST PROOF
HONG KONG SPEC
19133CONDENSER, DISTRIBUTOR
19137SPRING SUB-ASSY, DAMPER
19145POINT, DISTRIBUTOR
19152ARING, SNAP(FOR GOVERNOR WEIGHT)
19153SPRING, GOVERNOR, A
HONG KONG SPEC
HONG KONG SPEC
19154SPRING, GOVERNOR, B
HONG KONG SPEC
HONG KONG SPEC
19155GEAR, SPIRAL, DISTRIBUTOR
19220ARING, SNAP(FOR DISTRIBUTOR VACUUM ADVANCER)
HONG KONG SPEC
19231TERMINAL, DISTRIBUTOR
9009900124
main90099-00124
9009900710
main90099-00710
9009900810
main90099-00810
9009900871
main90099-00871
9009900878
main90099-00878
9009902198
main90099-02198
9009905803
main90099-05803
9011908355
main90119-08355
9451100400
main94511-00400
31 parts on this diagram · 10 diagrams in section