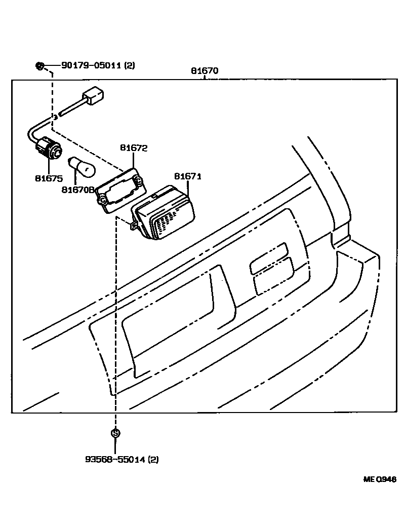
Toyota COROLLA WAGON — BACK UP LAMP

81670LAMP ASSY, BACK-UP, RH
81670BBULB(FOR BACK-UP LAMP)
12V 21W
81671LENS, BACK-UP LAMP, RH
81672GASKET, BACK-UP LAMP LENS, RH
81675SOCKET & WIRE, BACK-UP LAMP
9017905011
main90179-05011
9356855014
main93568-55014
7 parts on this diagram · 1 diagram in section
BACK UP LAMP for Toyota COROLLA WAGON
This section contains 7 genuine Toyota parts for the BACK UP LAMP system of the Toyota COROLLA WAGON. Key components include: LAMP ASSY, BACK-UP, RH, BULB(FOR BACK-UP LAMP), LENS, BACK-UP LAMP, RH, GASKET, BACK-UP LAMP LENS, RH, SOCKET & WIRE, BACK-UP LAMP.