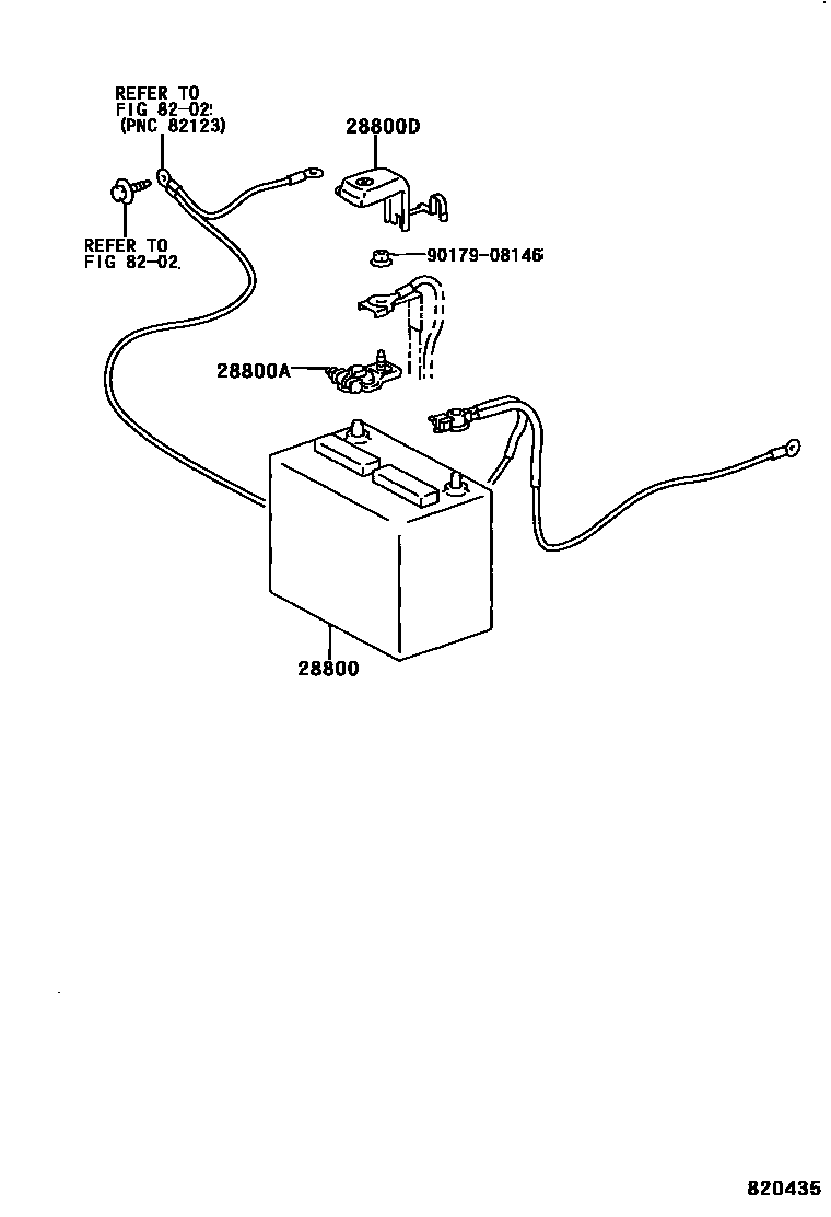
Toyota COROLLA SPRINTER — BATTERY & BATTERY CABLE

28800BATTERY
50D20L
28800ATERMINAL, BATTERY POSITIVE
28800DCOVER, CONNECTOR(FOR BATTERY TERMINAL)
8202WIRING & CLAMP
9017908146
main90179-08146
5 parts on this diagram · 1 diagram in section
BATTERY & BATTERY CABLE for Toyota COROLLA SPRINTER
This section contains 5 genuine Toyota parts for the BATTERY & BATTERY CABLE system of the Toyota COROLLA SPRINTER. Key components include: BATTERY, TERMINAL, BATTERY POSITIVE, COVER, CONNECTOR(FOR BATTERY TERMINAL), WIRING & CLAMP.