E
ToyotaEPC

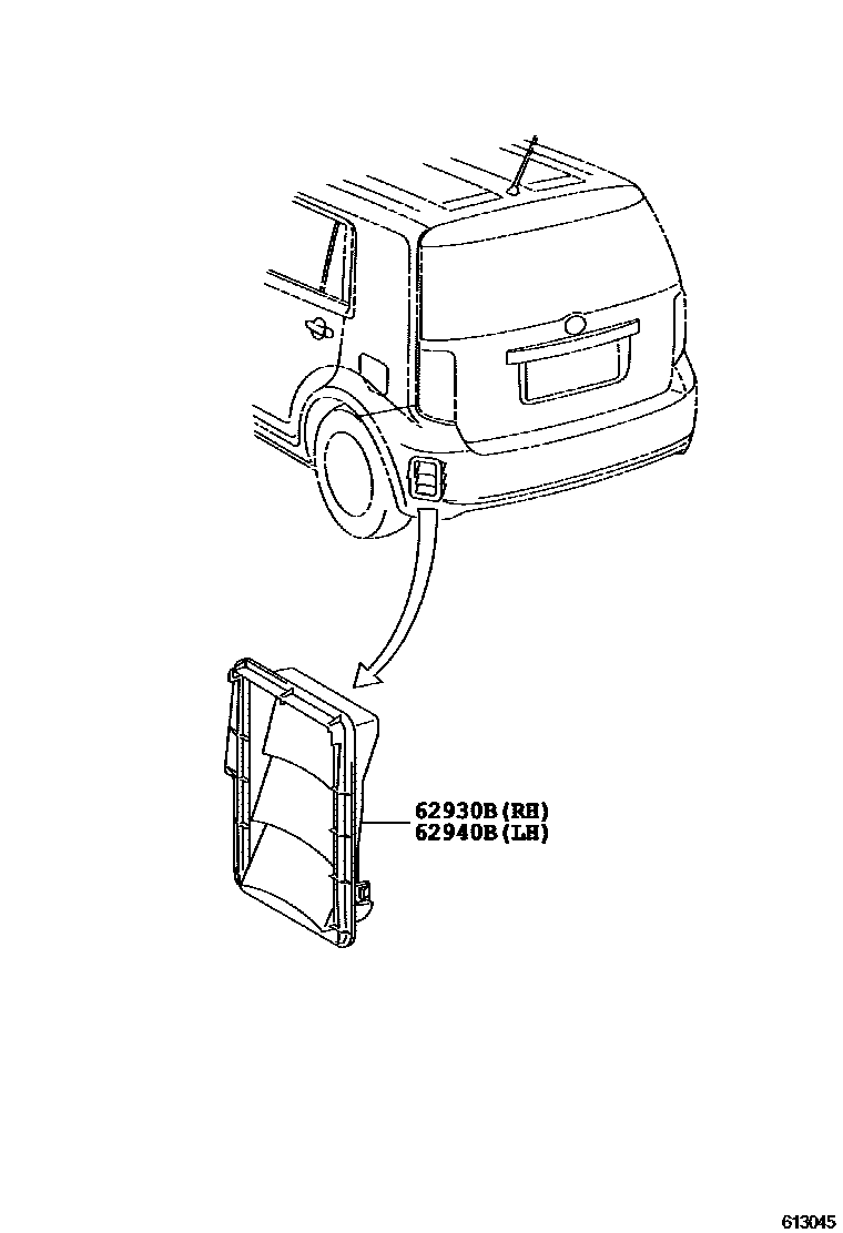
Toyota COROLLA RUMIONROOF SIDE VENTILATOR

Parts diagram
62930BDUCT ASSY, QUARTER VENT, RH
main62940-16060i200710-200912
62940BDUCT ASSY, QUARTER VENT, LH
main62940-16060i200710-200912

2 parts on this diagram · 1 diagram in section

ROOF SIDE VENTILATOR for Toyota COROLLA RUMION

This section contains 2 genuine Toyota parts for the ROOF SIDE VENTILATOR system of the Toyota COROLLA RUMION. Key components include: DUCT ASSY, QUARTER VENT, RH, DUCT ASSY, QUARTER VENT, LH.

Toyota COROLLA RUMION ROOF SIDE VENTILATOR — Parts Diagram | ToyotaEPC