Toyota COROLLA CROSS — ECO-RUN SYSTEM

8401
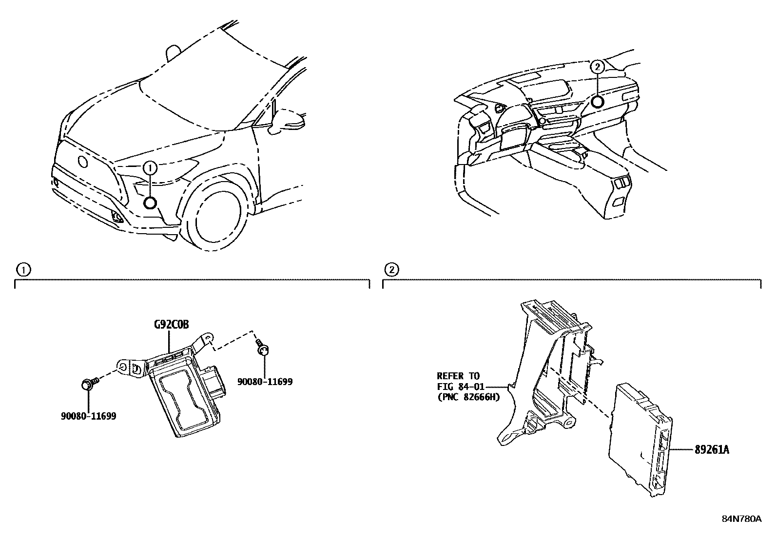
89261ACOMPUTER, ENGINE STOP AND START
*614
*614
*614
*614
MEXICO SPEC,*614
MEXICO SPEC,*614
MEXICO SPEC,*614
G92C0BCONVERTER ASSY, ECO RUN VEHICLE
AUDIO-ENTRY 8INCH & JBL & 9SPEAKER
9008011699
main90080-11699
4 parts on this diagram · 1 diagram in section