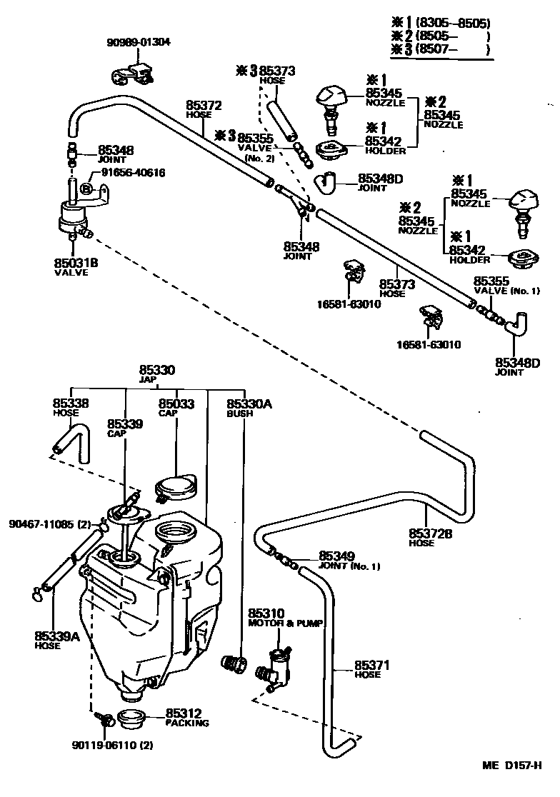
Toyota COROLLA COUPE — WINDSHIELD WASHER

85031BVALVE SUB-ASSY, WASHER
85033CAP ASSY, WINDSHIELD WASHER
85310MOTOR AND PUMP ASSY, WINDSHIELD WASHER
85312PACKING, WINDSHIELD WASHER TANK
85330JAR ASSY, WINDSHIELD WASHER
W/*RW
W/*RW
W/AIR PRE-CLEANER OR *HC
85330ABUSH, WINDSHIELD WASHER JAR
85338HOSE, BREATHER
85339CAP SUB-ASSY, RESERVE TANK
85339AHOSE (FOR RADIATOR RESERVE TANK)
85342HOLDER, WASHER NOZZLE
85345NOZZLE, WINDSHIELD WASHER
85348JOINT, WINDSHIELD WASHER HOSE, NO.1
3-WAY; 3-WAY,W/*RW
2-WAY,W/*RW; 2-WAY,W/AIR PRE-CLEANER & *RW
3-WAY,W/AIR PRE-CLEANER
2-WAY
85348DJOINT, WINDSHIELD WASHER ELBOW, NO.1
85349JOINT, WINDSHIELD WASHER HOSE, NO.1
NO.1; NO.1,W/AIR PRE-CLEANER & *RW; NO.2
NO.1
NO.1
85355VALVE, WINDSHIELD WASHER HOSE
NO.1; NO.1,W/*RW
NO.1; NO.1,W/AIR PRE-CLEANER
NO.2,W/*RW; NO.2,W/AIR PRE-CLE. & *RW
85371HOSE, WINDSHIELD WASHER (FROM MOTOR TO JOINT)
L=1800(*H,L=200); L=1800(*H,L=200),W/AIR PRE-CLEANER; L=300(*H,L=240)
L=2000(*H,L=400),W/AIR PRE-CLEANER
85372HOSE, WINDSHIELD WASHER (FROM JOINT TO JOINT), NO.1
L=1000(*H,L=360),W/*RW
L=2000(*H,L=400),W/*RW; L=2000(*H,L=400),W/AIR PRE-CLEANER & *RW
L=1450(*H,L=40),W/*RW
85372BHOSE, WINDSHIELD WASHER (FROM JOINT TO JOINT), NO.2
L=1450(*H,L=950); L=1450(*H,L=950),W/AIR PRE-CLEANER & *RW
L=1450(*H,L=950),W/AIR PRE-CLEANER & *RW
L=1450(*H,L=850)
85373HOSE, WINDSHIELD WASHER (FROM JOINT TO NOZZLE)
L=1450(*H,L=390),W/*RW
L=2000(*H,L=400),W/*RW
L=1450(*H,L=40),W/*RW
1658163010CLAMP, HOSE(FOR WATER HOSE)
main16581-63010
9011906110
main90119-06110
9046711085
main90467-11085
9098901304
main90989-01304
9165640616
main91656-40616
24 parts on this diagram · 3 diagrams in section
WINDSHIELD WASHER for Toyota COROLLA COUPE
This section contains 28 genuine Toyota parts for the WINDSHIELD WASHER system of the Toyota COROLLA COUPE. Key components include: VALVE SUB-ASSY, WASHER, CAP ASSY, WINDSHIELD WASHER, MOTOR AND PUMP ASSY, WINDSHIELD WASHER, PACKING, WINDSHIELD WASHER TANK, JAR ASSY, WINDSHIELD WASHER.