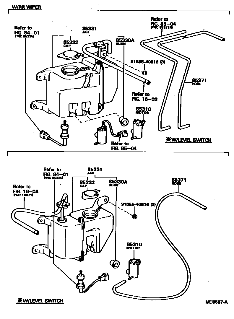
Toyota COROLLA 2 — WINDSHIELD WASHER

1603
8401
8504
85310MOTOR AND PUMP ASSY, WINDSHIELD WASHER
85330ABUSH, WINDSHIELD WASHER JAR
85331JAR SUB-ASSY, WINDSHIELD WASHER
W/RR WIPER
85332CAP, WINDSHIELD WASHER JAR
W/RR WIPER
85371HOSE, WINDSHIELD WASHER (FROM MOTOR TO JOINT)
9165540616
main91655-40616
9 parts on this diagram · 3 diagrams in section