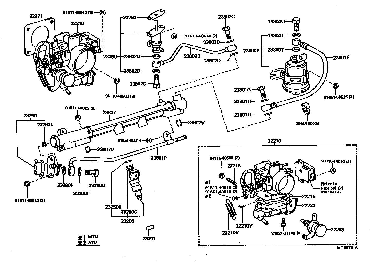
Toyota COROLLA 2 — FUEL INJECTION SYSTEM

22203DASH POT SUB-ASSY(FOR THROTTLE BODY)
22210BODY ASSY, THROTTLE
22210VSPRING, TENSION, W/DAMPER (FOR THROTTLE RETURN)
22210YRING, O(FOR AIR TUBE)
22215GASKET, THROTTLE BODY COVER
22216SCREW, DASH POT ADJUSTING
22230VALVE ASSY, AUXILIARY AIR
22271GASKET, THROTTLE BODY
23250INJECTOR ASSY, FUEL
23250BRING, O(FOR FUEL INJECTOR)
23250CGROMMET(FOR FUEL INJECTOR)
23260INJECTOR ASSY, COLD START FUEL
23280REGULATOR ASSY, FUEL PRESSURE
23280DBOLT, UNION(FOR FUEL PIPE OR HOSE SET)
23280ERING, O(FOR FUEL PRESSURE REGULATOR)
23280FGASKET(FOR FUEL PRESSURE REGULATOR)
23291INSULATOR, INJECTOR VIBRATION
23293GASKET, COLD START INJECTOR
23300PFILTER, FUEL(FOR EFI)
23300TGASKET(FOR FUEL FILTER)
23300UBOLT, UNION(FOR FUEL FILTER)
23801FHOSE, FUEL, NO.1
23801GBOLT, UNION(FOR FUEL PIPE)
23801HGASKET(FOR FUEL PIPE)
23801PPIPE SUB-ASSY, FUEL, NO.1
23802BPIPE SUB-ASSY, FUEL, NO.2
23802CBOLT, UNION(FOR FUEL PIPE NO.2)
23802DGASKET(FOR FUEL PIPE NO.2)
23807PIPE SUB-ASSY, FUEL DELIVERY
23807VSPACER, NO.1(FOR DELIVERY PIPE)
8404ELECTRONIC FUEL INJECTION SYSTEM
2182131140SCREW, 2ND THROTTLE VALVE SET
main21821-31140
9046400234
main90464-00234
9161140616
main91611-40616
9161160612
main91611-60612
9161160614
main91611-60614
9161160825
main91611-60825
9161160840
main91611-60840
9165140620
main91651-40620
9165160614
main91651-60614
9165160625
main91651-60625
9331514010
main93315-14010
9411040800
main94110-40800
9411540500
main94115-40500
44 parts on this diagram · 2 diagrams in section
FUEL INJECTION SYSTEM for Toyota COROLLA 2
This section contains 58 genuine Toyota parts for the FUEL INJECTION SYSTEM system of the Toyota COROLLA 2. Key components include: DASH POT SUB-ASSY(FOR THROTTLE BODY), BODY ASSY, THROTTLE, SPRING, TENSION, W/DAMPER (FOR THROTTLE RETURN), RING, O(FOR AIR TUBE), GASKET, THROTTLE BODY COVER.