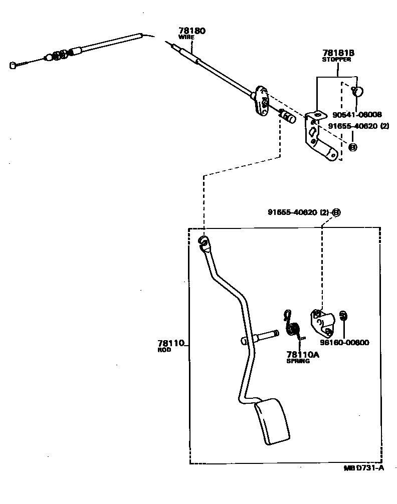
Toyota COROLLA 2 — ACCELERATOR LINK

78110ROD ASSY, ACCELERATOR PEDAL
78110ASPRING (FOR ACCELERATOR PEDAL ROD)
78180WIRE ASSY, ACCELERATOR
NIHON CABLE
CHUHATSU
NIHON CABLE
78181BSTOPPER, ACCELERATOR IDLE ADJUSTING
9054106008
main90541-06008
9165540620
main91655-40620
9616000600
main96160-00600
7 parts on this diagram · 2 diagrams in section