E
EPC Data

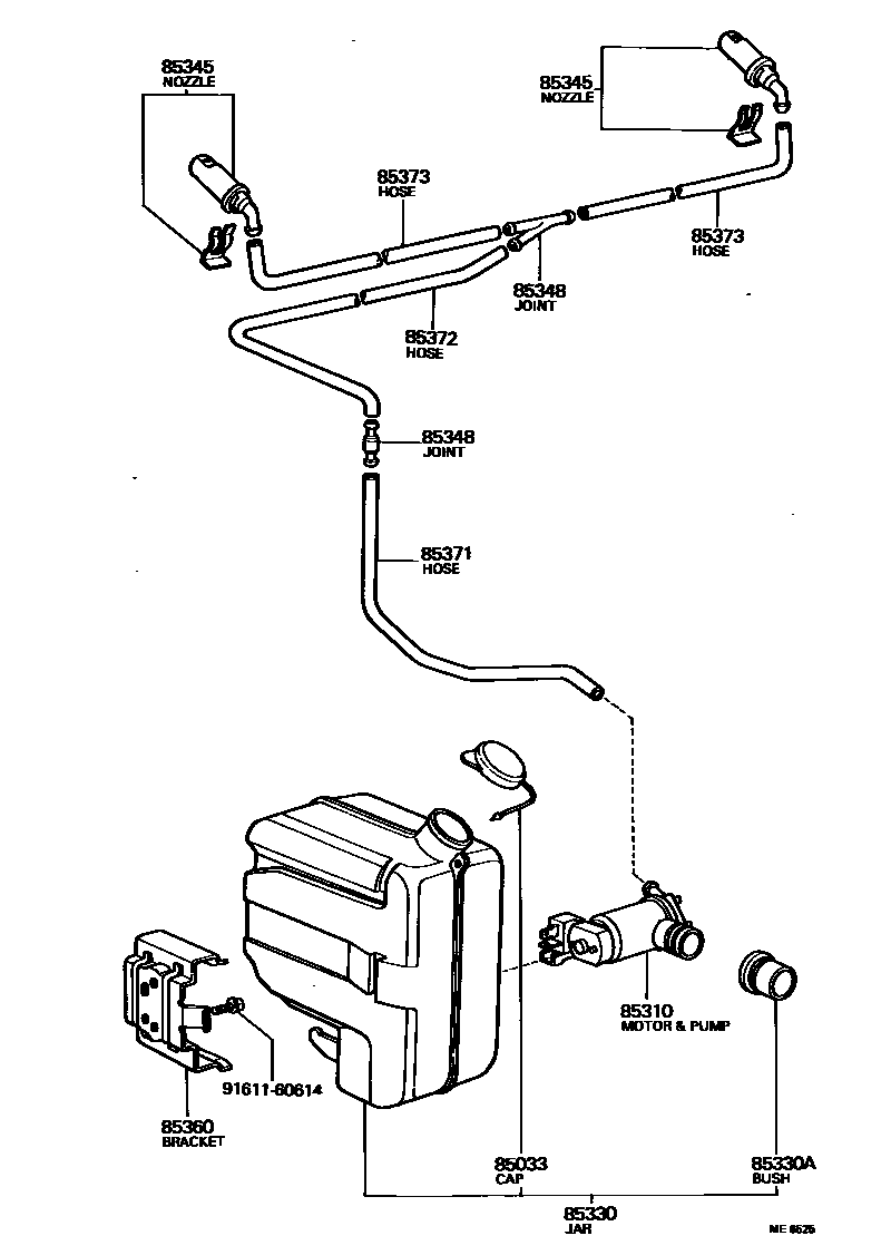
Toyota COASTERWINDSHIELD WASHER

Parts diagram
85033CAP ASSY, WINDSHIELD WASHER
main85033-36120i197708-198204
85310MOTOR AND PUMP ASSY, WINDSHIELD WASHER
main85310-20100i197708-198204
12V
main85310-25010i197708-197905
24V
85330JAR ASSY, WINDSHIELD WASHER
main85330-25040i197708-198204
85330ABUSH, WINDSHIELD WASHER JAR
main90099-32089i197708-198204
85345NOZZLE, WINDSHIELD WASHER
main85035-36130×2i197708-198204
FR
85348JOINT, WINDSHIELD WASHER HOSE, NO.1
main85355-14010i197708-198204
3 WAY
main85355-87201i197708-198204
2 WAY
85360BRACKET ASSY, WINDSHIELD WASHER
main85361-95A00i197708-198204
85371HOSE, WINDSHIELD WASHER (FROM MOTOR TO JOINT)
main90099-33316i197708-197912
L=1000(*H,L=200)
main90446-06013i197912-198204
L=1000(*H,L=200)
85372HOSE, WINDSHIELD WASHER (FROM JOINT TO JOINT), NO.1
main90446-06006i197912-198204
L=2000,*H,L=1100
main90446-06302i197708-197912
L=1100
85373HOSE, WINDSHIELD WASHER (FROM JOINT TO NOZZLE)
main90446-06013i197912-198204
L=320
main90446-06051×2i197708-197912
L=320
9161160614

11 parts on this diagram · 1 diagram in section