E
EPC Data

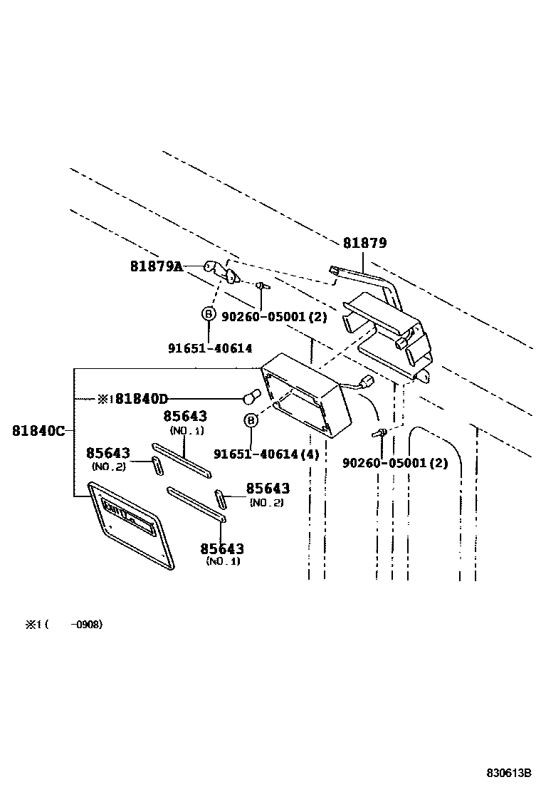
Toyota COASTERINDICATOR

Parts diagram
81840CLAMP ASSY, DOOR INDICATOR
main81840-36010-A0i199301-199505
IVORY,TRIM4#
main81840-36010-A1i199907-200108
IVORY,TRIM4#
main81840-36010-B0i200108-200408
MD.CHARCOAL,TRIM1#
main81840-36020-A0i199301-199505
IVORY,TRIM4#
main81840-36020-A1i199505-199907
IVORY,TRIM4#
main81840-36030-B0i200908-201501
MD.CHARCOAL,TRIM1#
81840DBULB, DOOR INDICATOR LAMP
main99134-13060×3i199301-199907
81879BRACKET, INDICATOR LAMP
main81879-36011i199301-199907
main81879-36021i200408-200608
81879ABRACKET, INDICATOR LAMP NO.2
main81879-36030i199907-200211
85643CUSHION, AUTO DOOR BRACKET STOPPER
main85643-36010×2i199907-200211
NO.1
main85643-36020×2i200408-201501
NO.2
9026005001
9165140614

7 parts on this diagram · 1 diagram in section