Toyota CENTURY — WINDSHIELD WASHER

8401SWITCH & RELAY & COMPUTER
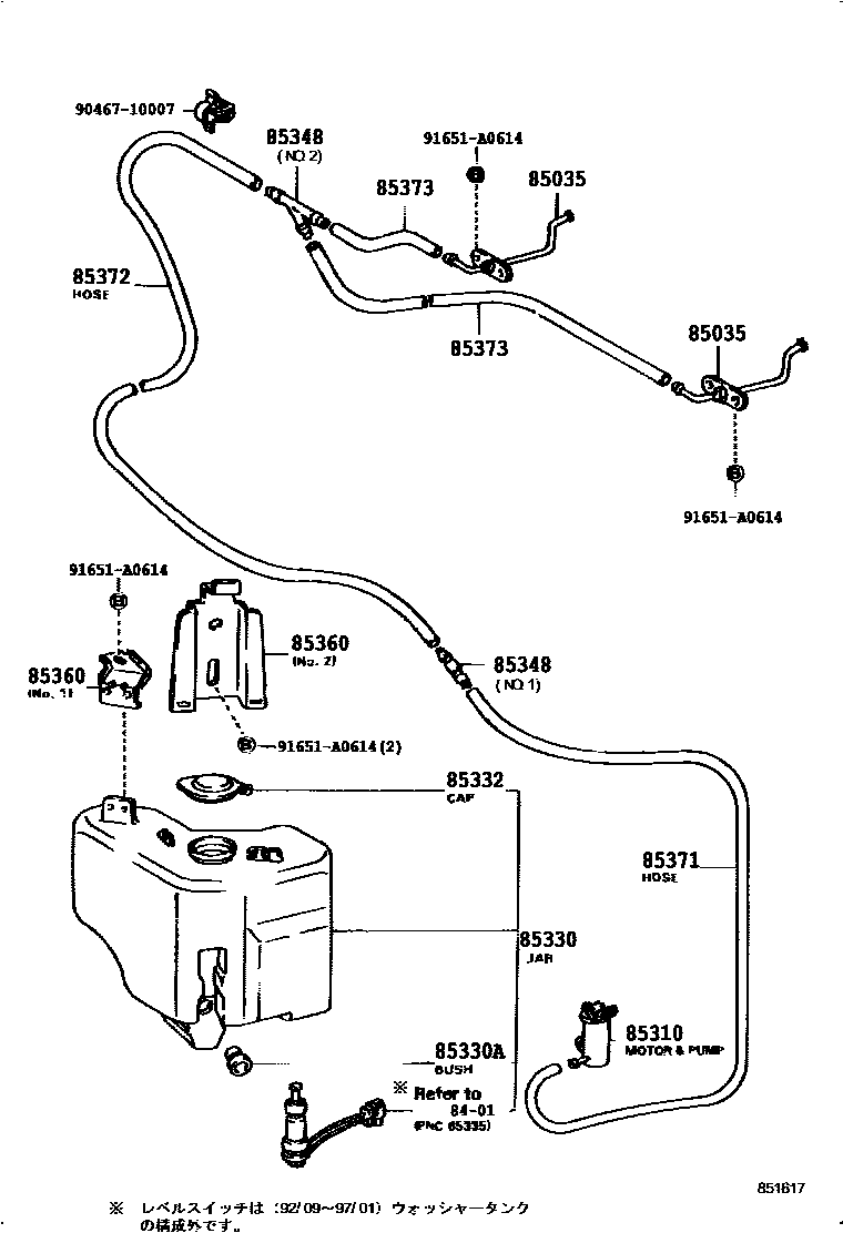
85310MOTOR AND PUMP ASSY, WINDSHIELD WASHER
85330ABUSH, WINDSHIELD WASHER JAR
85348JOINT, WINDSHIELD WASHER HOSE, NO.1
3-WAY
2-WAY
85360BRACKET ASSY, WINDSHIELD WASHER
85371HOSE, WINDSHIELD WASHER (FROM MOTOR TO JOINT)
85372HOSE, WINDSHIELD WASHER (FROM JOINT TO JOINT), NO.1
85373HOSE, WINDSHIELD WASHER (FROM JOINT TO NOZZLE)
9046710007
main90467-10007
91651A0614
main91651-A0614
13 parts on this diagram · 1 diagram in section
WINDSHIELD WASHER for Toyota CENTURY
This section contains 13 genuine Toyota parts for the WINDSHIELD WASHER system of the Toyota CENTURY. Key components include: SWITCH & RELAY & COMPUTER, NOZZLE SUB-ASSY, WASHER, MOTOR AND PUMP ASSY, WINDSHIELD WASHER, JAR ASSY, WINDSHIELD WASHER, BUSH, WINDSHIELD WASHER JAR.