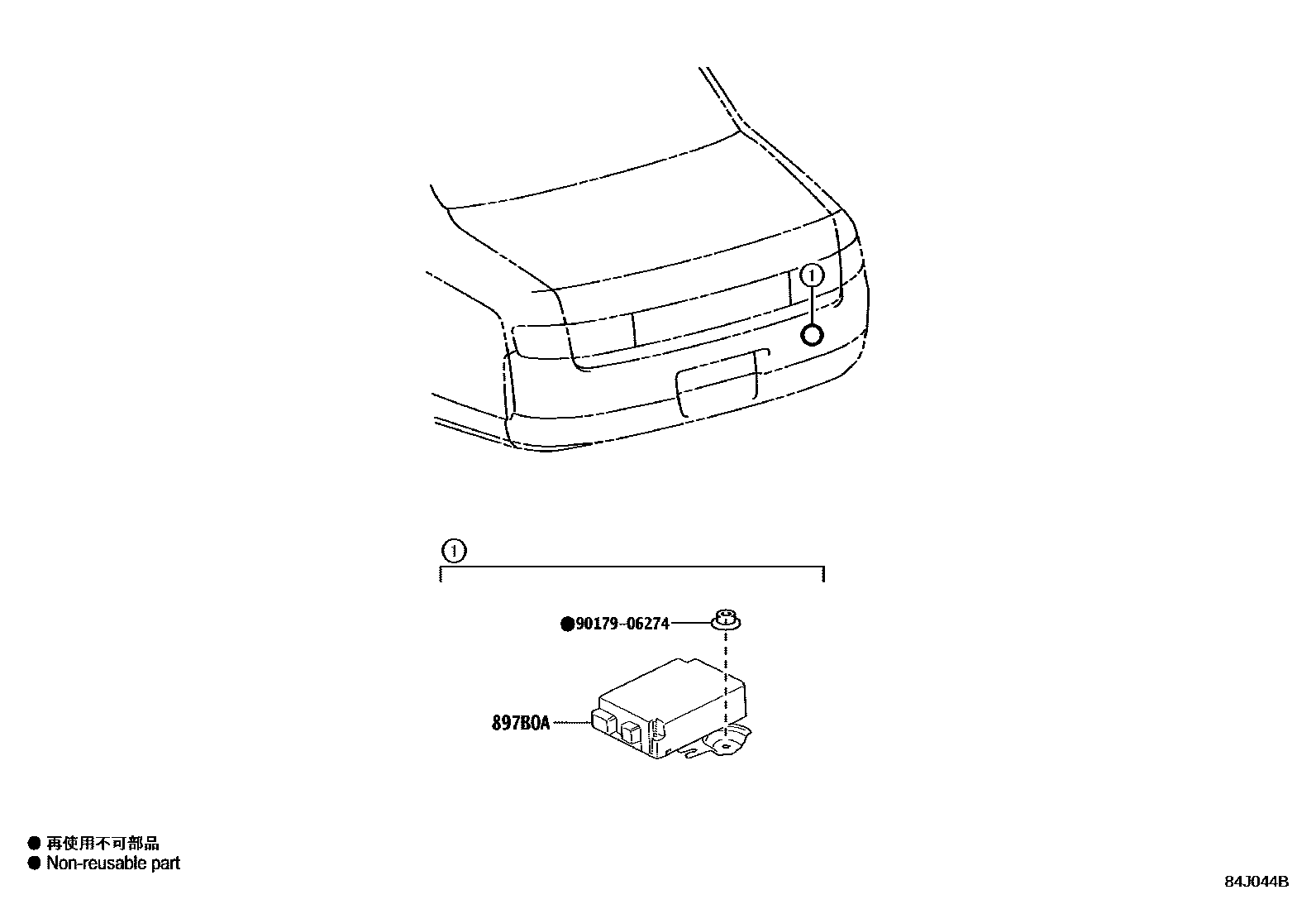
Toyota CENTURY — TIRE PRESSURE WARNING SYSTEM

897B0ARECEIVER ASSY, ELECTRICAL KEY & TPMS
9017906274
main90179-06274
2 parts on this diagram · 1 diagram in section
TIRE PRESSURE WARNING SYSTEM for Toyota CENTURY
This section contains 2 genuine Toyota parts for the TIRE PRESSURE WARNING SYSTEM system of the Toyota CENTURY. Key components include: RECEIVER ASSY, ELECTRICAL KEY & TPMS.