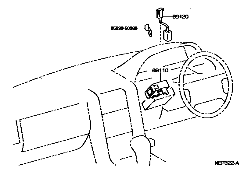
Toyota CELSIOR — AUTOMATIC LIGHT CONTROL SYSTEM (CONLIGHT)

89110RELAY ASSY, CONLIGHT, A
89120SENSOR, AUTOMATIC LIGHT CONTROL
8599950080BRACKET, COMBINATION RELAY
main85999-50080
3 parts on this diagram · 1 diagram in section

3 parts on this diagram · 1 diagram in section