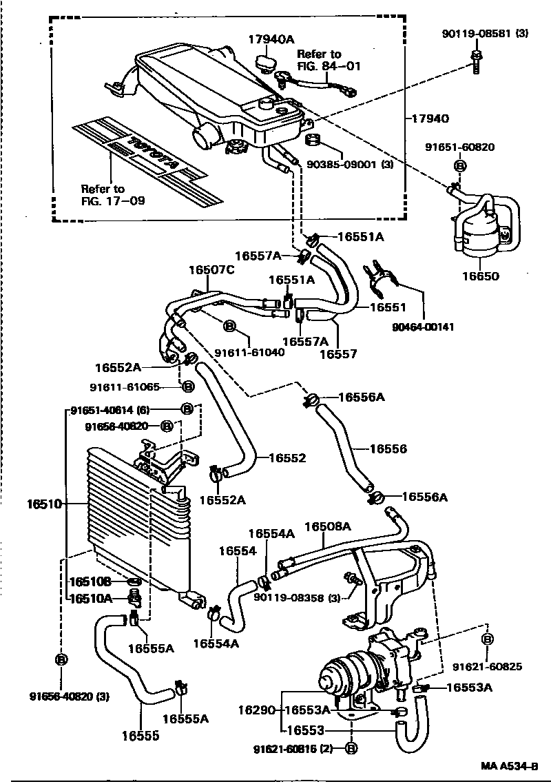
Toyota CELICA — INTERCOOLER & SUB RADIATOR

16290PUMP ASSY, WATER W/MOTOR & BRACKET
16507CPIPE SUB-ASSY, SUB-RADIATOR, NO.1
16508APIPE SUB-ASSY, SUB-RADIATOR, NO.2
16510SUB-RADIATOR ASSY
16510APLUG, DRAIN COCK(FOR SUB-RADIATOR)
16510BRING, O(FOR SUB-RADIATOR DRAIN COCK PLUG)
16551HOSE, SUB-RADIATOR, NO.1
16551ACLIP, SUB-RADIATOR HOSE, NO.1
16552HOSE, SUB-RADIATOR, NO.2
16552ACLIP, SUB-RADIATOR HOSE, NO.2
PIPE SIDE
PUMP SIDE
16553HOSE, SUB-RADIATOR, NO.3
16553ACLIP, SUB-RADIATOR HOSE, NO.3
PIPE SIDE
RADIATOR SIDE,RADIATOR SIDE
16554HOSE, SUB-RADIATOR, NO.4
16554ACLIP, SUB-RADIATOR HOSE, NO.4
PIPE SIDE
SUB-RADIATOR SIDE
16555HOSE, SUB-RADIATOR, NO.5
16555ACLIP, SUB-RADIATOR HOSE, NO.5
PIPE SIDE
SUB-RADIATOR SIDE
16556HOSE, SUB-RADIATOR, NO.6
16556ACLIP, SUB-RADIATOR HOSE, NO.6
PIPE NO.1 SIDE
PIPE NO.2 SIDE
16557HOSE, SUB-RADIATOR, NO.7
16557ACLIP, SUB-RADIATOR HOSE, NO.7
INTERCOOLER SIDE
PIPE SIDE
16650TANK ASSY, RESERVE(FOR INTERCOOLER)
1709CAUTION PLATE & NAME PLATE (ENGINE)
17940INTERCOOLER ASSY
17940ACAP SUB-ASSY, INTERCOOLER
8401SWITCH & RELAY & COMPUTER
9011908358
main90119-08358
9011908581
main90119-08581
9038509001
main90385-09001
9046400141
main90464-00141
9161161040
main91611-61040
9161161065
main91611-61065
9162160816
main91621-60816
9162160825
main91621-60825
9165140614
main91651-40614
9165160820
main91651-60820
9165640820
main91656-40820
36 parts on this diagram · 1 diagram in section
INTERCOOLER & SUB RADIATOR for Toyota CELICA
This section contains 36 genuine Toyota parts for the INTERCOOLER & SUB RADIATOR system of the Toyota CELICA. Key components include: PUMP ASSY, WATER W/MOTOR & BRACKET, PIPE SUB-ASSY, SUB-RADIATOR, NO.1, PIPE SUB-ASSY, SUB-RADIATOR, NO.2, SUB-RADIATOR ASSY, PLUG, DRAIN COCK(FOR SUB-RADIATOR).