E
EPC Data

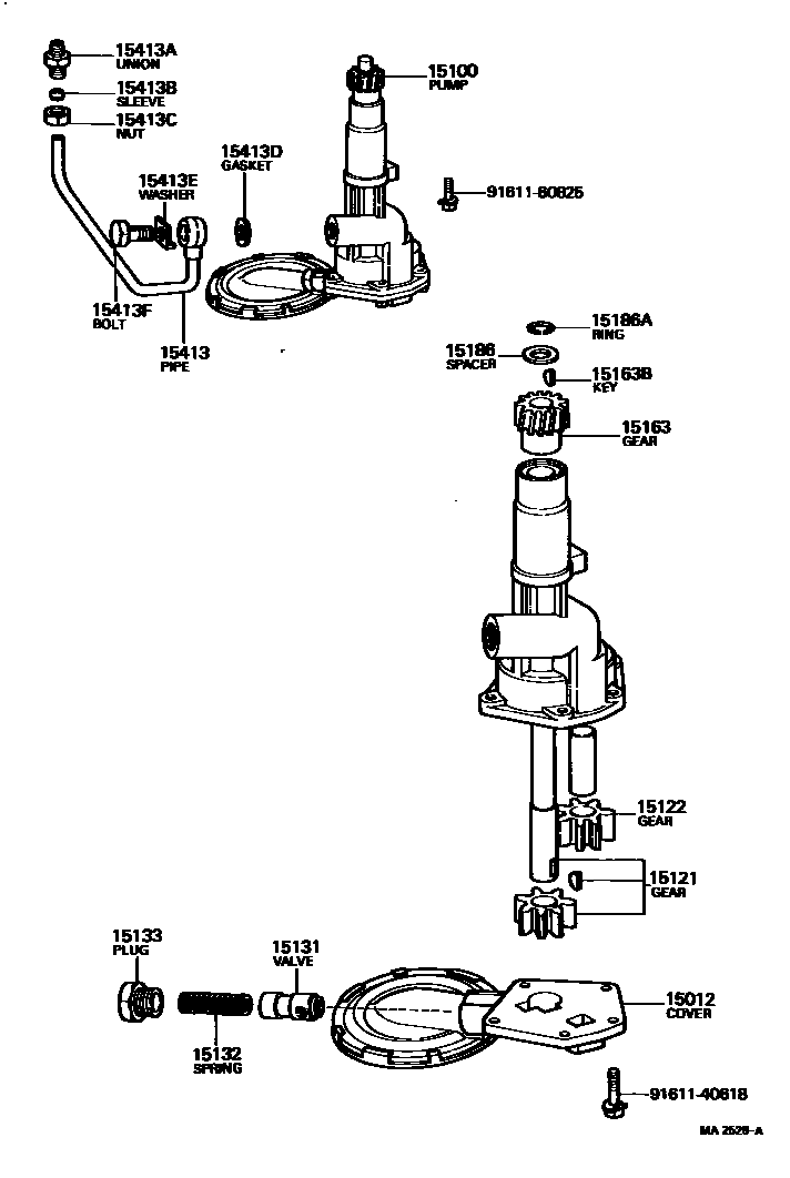
Toyota CELICAENGINE OIL PUMP

Parts diagram
15012COVER SUB-ASSY, OIL PUMP
main15012-41030i197901-198107
15100PUMP ASSY, OIL
main15100-38020i197708-197808
main15100-38021i197808-198107
main15100-41030i197901-198107
15121GEAR, OIL PUMP DRIVE
main15102-45010i197901-198107
main15121-38020i197708-198107
15122GEAR, OIL PUMP DRIVEN
main15122-38020i197708-198107
main15122-45010i197901-198107
15131VALVE, OIL PUMP RELIEF
main15131-22010i197708-197901
main15131-38030i197901-198107
main15131-41010i197901-198107
15132SPRING, OIL PUMP RELIEF VALVE
main15132-46010i197708-198107
15133PLUG, OIL PUMP RELIEF VALVE
main15133-20010i197708-198107
15163GEAR, OIL PUMP DRIVE SHAFT
main15163-45020i197901-198107
15163BKEY, WOODRUFF(FOR OIL PUMP DRIVE SHAFT GEAR)
main90280-03005i197901-198107
15186SPACER(FOR OIL PUMP DRIVE SHAFT GEAR)
main15186-41010×3i197901-198107
15186ARING, SHAFT SNAP(FOR OIL PUMP DRIVE SHAFT GEAR)
main90520-11031i197901-198107
15413PIPE, OIL PUMP OUTLET
main15403-41020i197901-198107
15413AUNION(FOR OIL PUMP OUTLET PIPE)
main96335-12009i197901-198107
15413BSLEEVE, BALL(FOR OIL PUMP OUTLET PIPE)
main96395-72000i197901-198107
15413CNUT, UNION(FOR OIL PUMP OUTLET PIPE)
main96315-12009i197901-198107
15413DGASKET(FOR OIL PUMP OUTLET PIPE)
main90430-18012i197901-198107
15413EWASHER, LOCK(FOR OIL PUMP OUTLET PIPE)
main15454-41011i197901-198107
15413FBOLT, UNION(FOR OIL PUMP OUTLET PIPE)
main90401-18079i197901-198107
9161140618
9161160825

20 parts on this diagram · 2 diagrams in section

ENGINE OIL PUMP for Toyota CELICA

This section contains 29 genuine Toyota parts for the ENGINE OIL PUMP system of the Toyota CELICA. Key components include: TIMING GEAR COVER & REAR END PLATE, COVER SUB-ASSY, OIL PUMP, PUMP ASSY, OIL, STRAINER SUB-ASSY, OIL, GASKET(FOR OIL STRAINER).