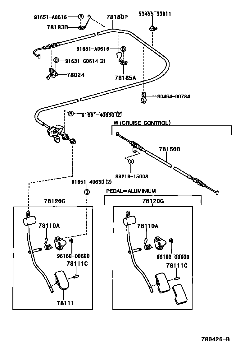
Toyota CELICA — ACCELERATOR LINK

78024BRACKET SUB-ASSY, ACCELERATOR CONTROL CABLE
78110ASPRING (FOR ACCELERATOR PEDAL ROD)
78111PEDAL, ACCELERATOR
PEDAL = ALUMINIUM
78111CPIN (FOR ACCELERATOR PEDAL)
78120GROD ASSY, ACCELERATOR PEDAL
PEDAL = ALUMINIUM
78150BCABLE ASSY, ACCELERATOR AUTO DRIVE
78180PCABLE ASSY, ACCELERATOR CONTROL
W(CRUISE CONTROL)
78183BCLAMP, ACCELERATOR CONTROL CABLE
78185ACLAMP, ACCELERATOR CONTROL CABLE, NO.2
5345533011CLAMP, HOOD SUPPORT ROD
main53455-33011
9046400784
main90464-00784
91631G0614
main91631-G0614
9165140630
main91651-40630
91651A0616
main91651-A0616
9321915008
main93219-15008
9616000600
main96160-00600
16 parts on this diagram · 3 diagrams in section