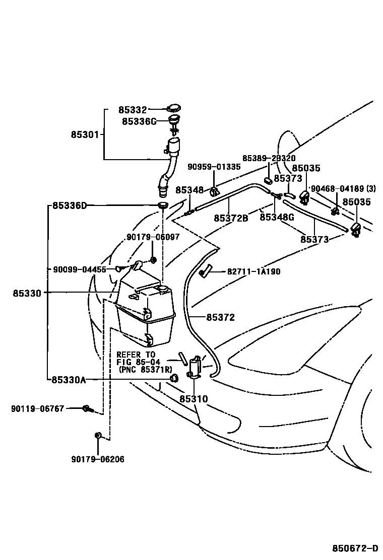
Toyota CELICA — WINDSHIELD WASHER

8504
85310MOTOR AND PUMP ASSY, WINDSHIELD WASHER
sub85330-20461
85330JAR ASSY, WINDSHIELD WASHER
85330ABUSH, WINDSHIELD WASHER JAR
85332CAP, WINDSHIELD WASHER JAR
85336DPACKING, WINDSHIELD WASHER JAR
85336GGAGE, WATER LEVEL
85348JOINT, WINDSHIELD WASHER HOSE, NO.1
85348GJOINT, WINDSHIELD WASHER HOSE, NO.2
85372HOSE, WINDSHIELD WASHER (FROM JOINT TO JOINT), NO.1
85372BHOSE, WINDSHIELD WASHER (FROM JOINT TO JOINT), NO.2
85373HOSE, WINDSHIELD WASHER (FROM JOINT TO NOZZLE)
827111A190WIRE, FUSE TO FUSE(FOR COMBUSTION HEATER)
main82711-1A190
853892B320PACKING, WINDSHIELD WASHER HOSE, NO.1
main85389-2B320
9009904455
main90099-04455
9011906767
main90119-06767
9017906097
main90179-06097
9017906206
main90179-06206
9046804189
main90468-04189
9095901335
main90959-01335
22 parts on this diagram · 1 diagram in section