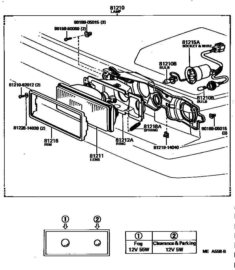
Toyota CELICA — FOG LAMP

81210LAMP ASSY, FOG
RH
RH
LH
LH
81210BBULB, FOG LAMP
12V 55W,HALOGEN
81212ARING, FOG LAMP MOUNTING
RH
LH
81215ASOCKET & WIRE, FOG LAMP
81216RIM, FOG LAMP, NO.1
81218ASPRING, TENSION(FOR FOG LAMP)
8121914040BOLT, FOG LAMP
main81219-14040
8121962012BOLT, FOG LAMP
main81219-62012
8122814020STOPPER, LENS
main81228-14020
9015950069
main90159-50069
9018905015
main90189-05015
12 parts on this diagram · 2 diagrams in section
FOG LAMP for Toyota CELICA
This section contains 12 genuine Toyota parts for the FOG LAMP system of the Toyota CELICA. Key components include: LAMP ASSY, FOG, BULB, FOG LAMP, LENS, FOG LAMP, RING, FOG LAMP MOUNTING, SOCKET & WIRE, FOG LAMP.