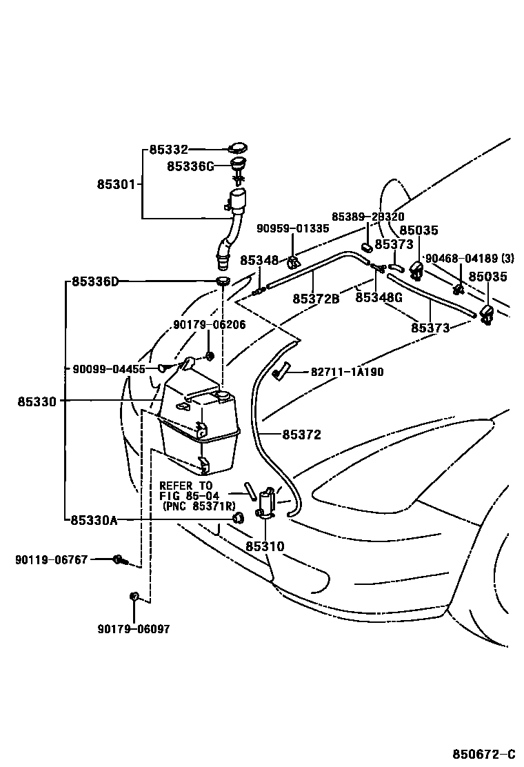
Toyota CELICA — WINDSHIELD WASHER

85035NOZZLE SUB-ASSY, WASHER
8504
85330JAR ASSY, WINDSHIELD WASHER
W(DISCHARGE HEADLAMP)
85330ABUSH, WINDSHIELD WASHER JAR
85332CAP, WINDSHIELD WASHER JAR
85336DPACKING, WINDSHIELD WASHER JAR
85336GGAGE, WATER LEVEL
W(DISCHARGE HEADLAMP)
85348JOINT, WINDSHIELD WASHER HOSE, NO.1
85348GJOINT, WINDSHIELD WASHER HOSE, NO.2
85372HOSE, WINDSHIELD WASHER (FROM JOINT TO JOINT), NO.1
L=1450(*H,L=670)
L=1450(*H,L=650)
85372BHOSE, WINDSHIELD WASHER (FROM JOINT TO JOINT), NO.2
L=1450(*H,L=605)
85373HOSE, WINDSHIELD WASHER (FROM JOINT TO NOZZLE)
L=1450(*H,L=60)
827111A190WIRE, FUSE TO FUSE(FOR COMBUSTION HEATER)
main82711-1A190
853892B320PACKING, WINDSHIELD WASHER HOSE, NO.1
main85389-2B320
9009904455
main90099-04455
9011906767
main90119-06767
9017906097
main90179-06097
9017906206
main90179-06206
9046804189
main90468-04189
9095901335
main90959-01335
22 parts on this diagram · 2 diagrams in section