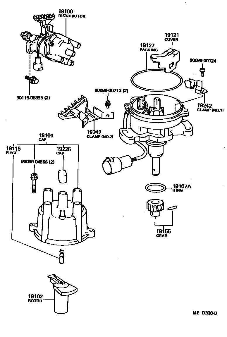
Toyota CELICA — DISTRIBUTOR

19100DISTRIBUTOR ASSY
GENERAL COUNTRY SPEC
19101CAP SUB-ASSY, DISTRIBUTOR
19115PIECE, DISTRIBUTOR CAP, CENTER
19121COVER, DUST PROOF
HONG KONG SPEC
NO.1
NO.2
19155GEAR, SPIRAL, DISTRIBUTOR
19225CAP, RUBBER
19242CLAMP, CORD
NO.1
NO.2
HONG KONG SPEC
9009900124
main90099-00124
9009900713
main90099-00713
9009904566
main90099-04566
9011908355
main90119-08355
14 parts on this diagram · 14 diagrams in section