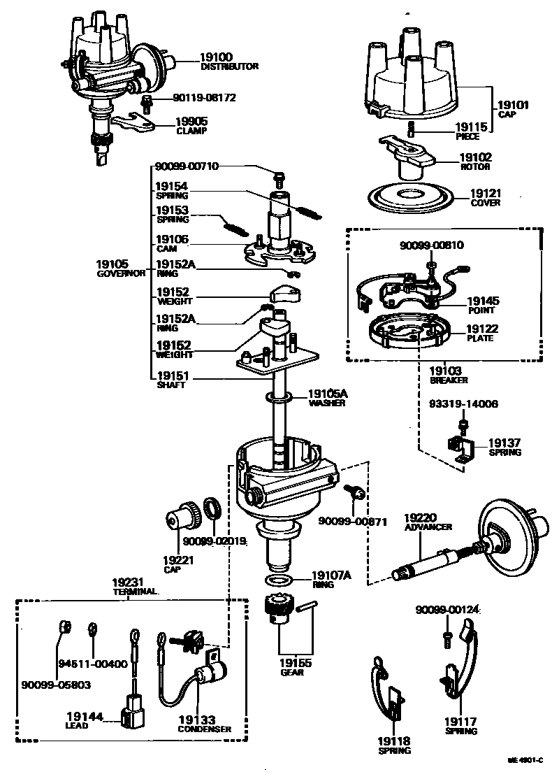
Toyota CELICA — DISTRIBUTOR

19101CAP SUB-ASSY, DISTRIBUTOR
19103BREAKER SUB-ASSY, DISTRIBUTOR
19105GOVERNOR SUB-ASSY
19105AWASHER(FOR GOVERNOR SHAFT THRUST)
T=2.5,T=2.5
T=2.7,T=2.7
T=2.9,T=2.9
T=2.3,T=2.3
19106CAM SUB-ASSY, DISTRIBUTOR
19107ARING, O, DISTRIBUTOR HOUSING
sub90099-14090
19115PIECE, DISTRIBUTOR CAP, CENTER
19117SPRING, DISTRIBUTOR CAP, A
19118SPRING, DISTRIBUTOR CAP, B
19121COVER, DUST PROOF
19122PLATE, STATIONARY, DISTRIBUTOR
19133CONDENSER, DISTRIBUTOR
19137SPRING SUB-ASSY, DAMPER
19145POINT, DISTRIBUTOR
19151SHAFT, GOVERNOR
19152ARING, SNAP(FOR GOVERNOR WEIGHT)
19153SPRING, GOVERNOR, A
19154SPRING, GOVERNOR, B
19155GEAR, SPIRAL, DISTRIBUTOR
19221CAP, ADJUSTER, DISTRIBUTOR
sub19221-60040
19905CLAMP SUB-ASSY, DISTRIBUTOR
9009900124
main90099-00124
9009900710
main90099-00710
9009900810
main90099-00810
9009900871
main90099-00871
9009902019
main90099-02019
9009905803
main90099-05803
9011908172
main90119-08172
9331914006
main93319-14006
9451100400
main94511-00400
36 parts on this diagram · 7 diagrams in section