Toyota CAMRY — FRONT AXLE HUB

4302
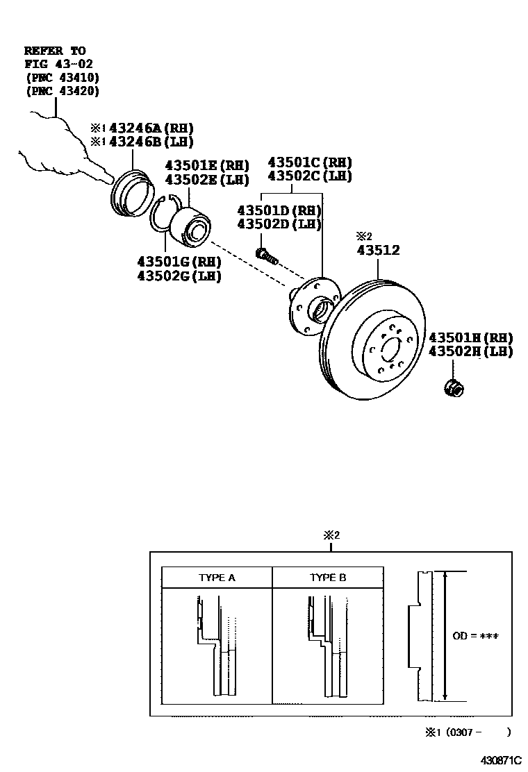
43246ADEFLECTOR, FRONT WHEEL BEARING DUST, NO.1 RH
43246BDEFLECTOR, FRONT WHEEL BEARING DUST, NO.1 LH
43501DBOLT, HUB (FOR FRONT AXLE RH)
43501EBEARING (FOR FRONT AXLE HUB RH)
NSK
KOYO
43501GRING, HOLE SNAP (FOR FRONT AXLE HUB RH)
43501HNUT (FOR FRONT AXLE SHAFT RH)
43502DBOLT, HUB (FOR FRONT AXLE LH)
43502EBEARING (FOR FRONT AXLE HUB LH)
NSK
KOYO
43502GRING, HOLE SNAP (FOR FRONT AXLE HUB LH)
43502HNUT (FOR FRONT AXLE SHAFT LH)
43512DISC, FRONT
OD=275;BRAZIL OR CHILE OR CHINA OR GENERAL OR HONG KONG OR INDIA OR SINGAPOLE OR VENEZUELA SPEC
sub43512-44011
14 parts on this diagram · 1 diagram in section