E
EPC Data

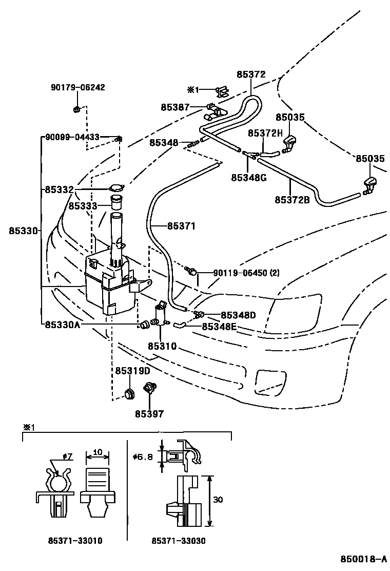
Toyota CAMRY (JPP)WINDSHIELD WASHER

Parts diagram
85035NOZZLE SUB-ASSY, WASHER
main85381-12050×2i199608-199908
main85381-AA020i199708
RH
main85381-AA030i199708
LH
85310MOTOR AND PUMP ASSY, WINDSHIELD WASHER
main85330-33020i199608-199908
85319DPACKING, FRONT WASHER
main85319-33230i199608-199908
85330JAR ASSY, WINDSHIELD WASHER
main85315-33230i199908
85330ABUSH, WINDSHIELD WASHER JAR
main90099-32089i199608-199908
85332CAP, WINDSHIELD WASHER JAR
main85316-33050i199608-199908
85333FILTER, WINDSHIELD WASHER JAR
main85333-12470i199608-199908
85348JOINT, WINDSHIELD WASHER HOSE, NO.1
main85334-22470i199608-199908
85348DJOINT, WINDSHIELD WASHER ELBOW, NO.1
main85355-32110i199608-199908
85348EJOINT, WINDSHIELD WASHER ELBOW, NO.2
main85317-12410i199608-199908
85348GJOINT, WINDSHIELD WASHER HOSE, NO.2
main85348-14390i199608-199908
85371HOSE, WINDSHIELD WASHER (FROM MOTOR TO JOINT)
main90099-33920i199608-199908
L=1400
85372HOSE, WINDSHIELD WASHER (FROM JOINT TO JOINT), NO.1
main90099-33080i199608-199908
L=1450(*H,L=750)
85372BHOSE, WINDSHIELD WASHER (FROM JOINT TO JOINT), NO.2
main90099-33080i199608-199908
L=1450(*H,L=780)
85372HHOSE, WINDSHIELD WASHER (FROM JOINT TO JOINT), NO.3
main90099-33080i199608-199908
L=1450(*H,L=200)
85387CLAMP NO.1 (FOR WINDSEIELD WASHER)
main85387-22410i199608-199908
85397SWITCH ASSY,LEVEL WARNING
main85397-33230i199608-199908
8537133010HOSE, WINDSHIELD WASHER (FROM MOTOR TO JOINT)
8537133030HOSE, WINDSHIELD WASHER (FROM MOTOR TO JOINT)
9009904433
9011906450
9017906242

22 parts on this diagram · 1 diagram in section

WINDSHIELD WASHER for Toyota CAMRY (JPP)

This section contains 22 genuine Toyota parts for the WINDSHIELD WASHER system of the Toyota CAMRY (JPP). Key components include: NOZZLE SUB-ASSY, WASHER, MOTOR AND PUMP ASSY, WINDSHIELD WASHER, PACKING, FRONT WASHER, JAR ASSY, WINDSHIELD WASHER, BUSH, WINDSHIELD WASHER JAR.