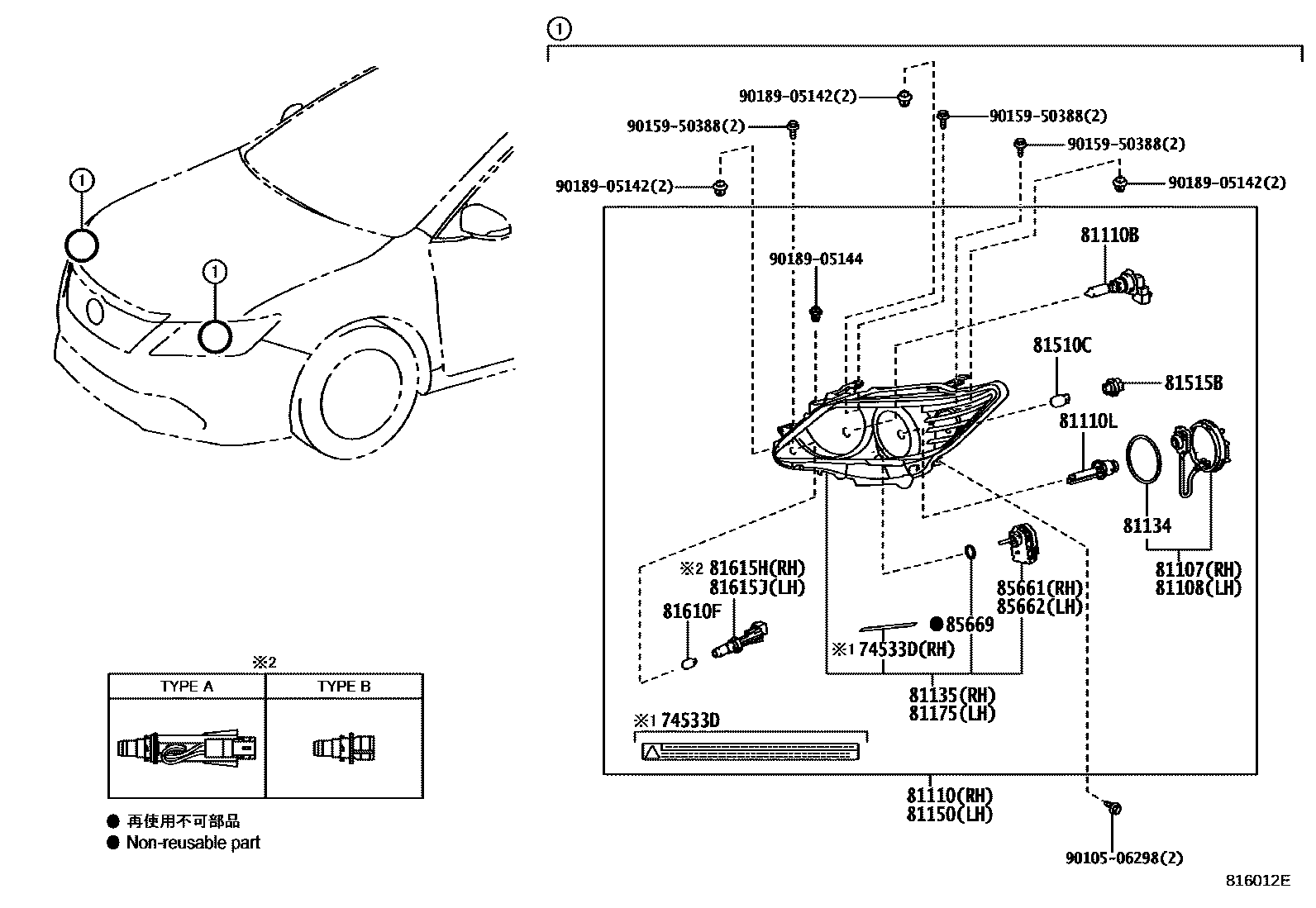
Toyota CAMRY/HYBRID (ASIA) — HEADLAMP

74533DLABEL, HEADLAMP VOLTAGE CAUTION
81107COMPUTER SUB-ASSY, HEADLAMP LIGHT CONTROL, RH
81108COMPUTER SUB-ASSY, HEADLAMP LIGHT CONTROL, LH
81110HEADLAMP ASSY, RH
PNC 81615H=TYPE A
PNC 81615H=TYPE A
PNC 81615H=TYPE A
PNC 81615H=TYPE B
81110BBULB(FOR HEADLAMP, NO.1)
12V65W(SAE),60W(ECE)
81110LBULB, DISCHARGE HEADLAMP
42V 35W
81134GASKET, HEADLAMP
81510CBULB (FOR FRONT TURN SIGNAL LAMP)
12V 21W,AMBER
81515BSOCKET, FRONT TURN SIGNAL LAMP
81610FBULB(FOR CLEARANCE LAMP)
12V 5W
81615HSOCKET, CLEARANCE LAMP, RH
TYPE A
TYPE B
TYPE A
TYPE B
81615JSOCKET, CLEARANCE LAMP, LH
85661MOTOR, HEADLAMP LEVELING, RH
85662MOTOR, HEADLAMP LEVELING, LH
85669PACKING, HEADLAMP LEVELING MOTOR BASE
9010506298
main90105-06298
9015950388
main90159-50388
9018905142
main90189-05142
9018905144
main90189-05144
22 parts on this diagram · 9 diagrams in section