Toyota BZ4X — SHIFT LEVER & RETAINER

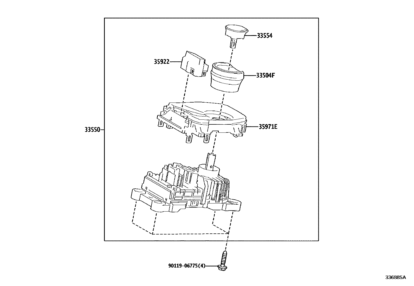
33504FKNOB SUB-ASSY, SHIFT LEVER
33550FLOOR SHIFT ASSY, TRANSMISSION
*614
*614
33554CAP, SHIFT LEVER
35922KNOB, TRANSMISSION PARKING SWITCH
35971EHOUSING, POSITION INDICATOR
9011906775
main90119-06775
6 parts on this diagram · 1 diagram in section