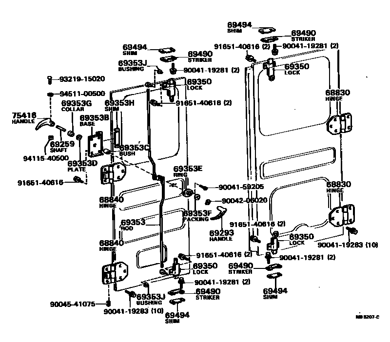
Toyota BLIZZARD — BACK DOOR LOCK & HINGE

68830HINGE ASSY, BACK DOOR, RH
68840HINGE ASSY, BACK DOOR, LH
69259SHAFT, BACK DOOR HANDLE
69293HANDLE, BACK DOOR
69353ROD, BACK DOOR LOCK CONTROL, CENTER
69353BBASE ASSY, SWING GATE LOCK HANDLE
69353CBUSH, SWING GATE LOCK HANDLE
69353DPLATE, SWING GATE HANDLE LOCK
69353ERING, SWING GATE HANDLE
69353FPACKING, SWING GATE HANDLE
69353GCOLLAR, SWING GATE LOCK HANDLE
69353HSHIM, SWING GATE HANDLE BASE
T=1.0
T=1.6
69353JBUSHING(FOR JOINT)
69490STRIKER ASSY, BACK DOOR LOCK
69494SHIM, BACK DOOR LOCK STRIKER
T=0.8
T=1.6
75416HANDLE, TAIL GATE, INSIDE
9004119281
main90041-19281
9004119283
main90041-19283
9004159205
main90041-59205
9004206020
main90042-06020
9004541075
main90045-41075
9165140616
main91651-40616
9321915020
main93219-15020
9411540500
main94115-40500
9451100500
main94511-00500
26 parts on this diagram · 1 diagram in section
BACK DOOR LOCK & HINGE for Toyota BLIZZARD
This section contains 26 genuine Toyota parts for the BACK DOOR LOCK & HINGE system of the Toyota BLIZZARD. Key components include: HINGE ASSY, BACK DOOR, RH, HINGE ASSY, BACK DOOR, LH, SHAFT, BACK DOOR HANDLE, HANDLE, BACK DOOR, LOCK ASSY, BACK DOOR.